数控机床刀具自动装卸

时间:2023-03-11来源:佚名

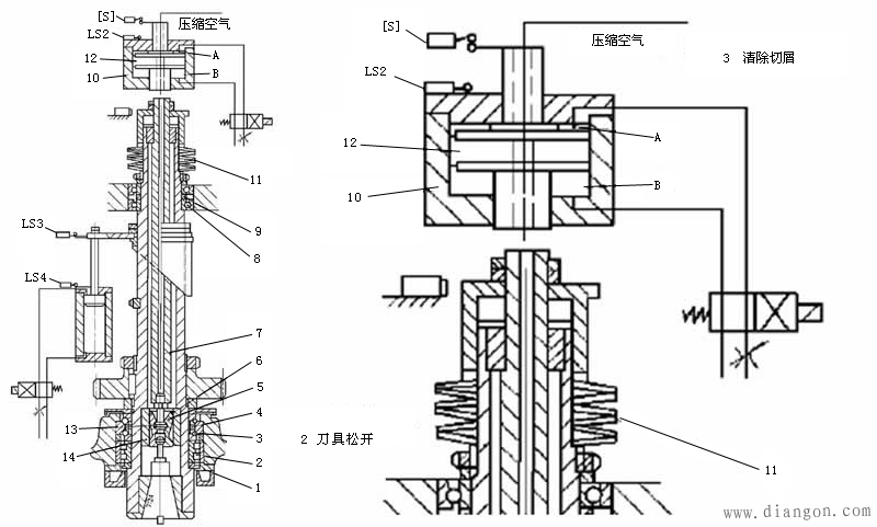
为了实现刀具在数控机床的主轴上进行自动装卸,一方面要保证主轴能在准确的位置停下来,由主轴准停装置来实现;另一方面,还需要有相应的刀具自动松开和夹紧装置。

数控机床刀具自动装卸

数控机床刀具自动装卸

数控机床刀具自动装卸

    相关阅读

    漏电开关跳闸的原因与解决办法以及巧用万用表快速查漏电点

    漏电开关 漏电开关的工作原理是: 正常工作时电路中除了工作电流外没有漏电流通过漏电保护器,此时流过零序互感器(检测互感器)的电流大小相等,方向相反,总和为零,互感器...
    2023-06-11
    漏电开关跳闸的原因与解决办法以及巧用万用表快速查漏电点

    【提醒】万万没想到!家家在用的这些东西,一个月能偷近百度电!

    来源:中国经济网(ID:ourcecn)江苏新闻(ID:jstvjsxw) 智能电表是不是比老式电表走得快?家里的电费为什么会居高不下?你是不是有这样的疑问?3月15日,南京供电公司的工作人员走...
    2023-06-11
    【提醒】万万没想到!家家在用的这些东西,一个月能偷近百度电!

    分析一个有意思的电路设计

    今天收到一台客户提供的竞品机器,电路板方面客户希望我们抄板,目前这个电路板方案已经出货100K以上了,品质很稳定,客户希望我们照抄设计,仔细看了样机的电路板后,发现成本...
    2023-06-08
    分析一个有意思的电路设计

    电工常用电动机控制电路(三)

    三地(多地点)控制电路 在一些大型机床设备中,为了操作方便,经常需要在两地或多地能启动或停止同一台电动机,这就需要多地点控制电路。通常把启动按钮并联在一起,实现多地...
    2023-07-05
    电工常用电动机控制电路(三)

    电工电路的识图方法和识图步骤是什么?

    在电工领域,电路图的识图能力是每一位从业者不可或缺的基本技能。它不仅关乎到日常工作的效率,更是确保电气系统安全稳定运行的关键。本文将从电工电路的识图方法和识图步骤两...
    2024-08-09
    电工电路的识图方法和识图步骤是什么?

    热销商品

    加厚abs安全帽电工建筑工地程施工领导监理透气防砸头盔可印字V型

    这款加厚ABS安全帽专为电工、建筑工地施工人员、领导及监理设计,采用高强度ABS工程塑料,抗冲击、防砸性能优异,有效保障头部安全。帽体加厚设计,增强耐用性与防护等级...
    5.8

    水口钳高硬度模型剪钳电子钳工业级口水剪斜嘴钳偏口斜口专用钳子

    水口钳高硬度模型剪钳是一款工业级精密工具,专为电子、模型制作及精细作业设计。采用优质高碳钢材质,经热处理工艺打造,具备卓越的硬度和耐磨性,可轻松剪切金属引脚、...
    4.8

    170电子剪钳II 如意斜口钳 工业斜嘴钳水口钳 模型剪塑胶钳尖嘴钳

    170电子剪钳II如意斜口钳是一款专业级精密工具,集工业斜嘴钳、水口钳、模型剪、塑胶钳与尖嘴钳功能于一体,适用于电子维修、模型制作、手工艺及精密作业。其采用优...
    4.5

    安全帽国标工地加厚施工领导透气安全头盔建筑工程监理免费印字

    本款安全帽严格遵循国家GB 2811-2019标准,专为建筑工程、工地施工及监理人员设计。采用高强度ABS工程塑料,加厚壳体有效抗冲击,保障头部安全。帽体轻盈透气,内置可调...
    10

    包邮三角型简易螺丝刀三角十字螺丝刀螺丝批改锥起子五金工具5mm

    这款5mm三角型简易螺丝刀,专为拧紧或拆卸三角形螺丝设计,适用于电子维修、家电维护及精密仪器装配等场景。采用优质合金钢材质,刀头硬度高、耐磨损,确保长久使用不变...
    3.64

    网站栏目