电缆线路的结构主要由电缆、电缆接头与封端头、电缆支架与电缆夹等组成。
一、电缆种类与结构
在输、配电线路中,目前常用的1~35kV电力电缆,主要有铠装电缆与软电缆两大类。铠装电缆具有高的机械强度,但不易弯曲,主要用于向固定及半固定设备供电;软电缆轻便易弯曲,主要用于向移动设备供电。
1.铠装电缆
目前使用的铠装电缆有油浸纸绝缘铅(铝)包电力电缆与全塑铠装电力电缆两种。
油浸纸绝缘铅(铝)包电力电缆是目前应用最广的一种电缆。其主芯线有铜、铝之分,内护层有铅包与铝包之分,铠装又分为钢带与钢丝(有粗钢丝与细钢丝)铠装两种;有的还有黄麻外护层,用来保护铠装免遭腐蚀。为了应用在高差较大的地方,这种电缆还有干绝缘与不滴流等派生型号。油浸纸绝缘铅(铝)包钢带铠装电缆的结构如图1所示。它有三条作为导电用的铜(铝)主芯线1,当截面在25mm2及以上时,为了增加电缆柔度,减小电缆外径,主芯线采用多股绞成扇形截面。各芯线的分相绝缘,用松香和矿物油浸渍过的纸带2缠绕。三相之间的空隙,衬以充填物3使成圆形,再用浸渍过油的纸带缠绕成统包绝缘4,统包层外面为密封用的铅(铝)包内护层5,以防止浸渍油的流失和潮气等的侵入。为使铅(铝)护层免遭腐蚀和受到外护层铠装的损伤,在铅(铝)护层与铠装之间,衬以沥青纸6与黄麻层7,8为叠绕的钢带铠装层。为了防止其锈蚀,再用浸有沥青的黄麻护层加以保护。

图1 油浸纸绝缘钢带铠装电缆结构
塑料铠装电力电缆有聚氯乙烯绝缘聚氪乙烯护套和交联聚乙烯绝缘聚乙烯护套两种。塑料电缆的绝缘电阻、介质损耗角等电气性能较好,并有耐水、抗腐、不延燃、制造工艺简单、重量轻、运输方便、敷设高差不受限制等优点,具有广泛的发展前途。聚氯乙烯电缆目前已生产至6kV电压等级。交联聚乙烯是利用化学或物理方法,使聚乙烯分子由原来直接链状结构变为三度空间网状结构。因此交联聚乙烯除保持了聚乙烯的优良性能外,还克服了聚乙烯耐热性差、热变形大、耐药物腐蚀性差、内应力开裂等方面的缺陷。交联聚乙烯电缆结构见图2。图中,1为导电芯线;2为半导体层;3为交联聚乙烯绝缘;4为半导体层;5为钢带;6为标志带;7、9为塑料带;8为纤维充填材料;10是钢带铠装;11为聚氯乙烯外护套。这种电缆目前已生产至10kV及35kV级。

图2 交联聚乙烯绝缘电缆结构图
2.软电缆
软电缆分为橡胶电缆与塑料电缆(无铠装)两种。
橡胶电缆根据外护套材料不同,有普通型、非延燃型与加强型三种。普通型外护套为天然橡胶,容易燃烧,不宜用于有爆炸危险的场合。非延燃型的外护套采用氯丁橡胶制成,电缆着火后,分解出氯化氢气体使火焰与空气隔绝,达到不延燃的目的。加强型护套中夹有加强层(如帆布、纤维绳或多根镀锌软钢丝等)提高其机械强度,主要用于易受机械损伤的场合。

图3 橡胶电缆的一般结构
橡胶电缆的结构如图3所示。为了得到足够的柔度,软电缆的芯线采用多股细铜丝绞成。矿用电缆除三相主芯线1外,还有一根接地芯线5,每个芯线包以分相绝缘2,分相绝缘做成各种颜色或其它标志,以便于识别。为了保持芯线形状和防止损伤,在芯线之间的空隙处填充防震芯子3,以增加电缆的机械强度和绝缘性能。其外层是橡胶护套4。
二、电缆型号的选择
1.电力电缆的型号
电力电缆分一般电力电缆及专用电力电缆两种。专用电力电缆有:耐油电缆、仪表用多芯电缆、绝缘耐寒电缆、绝缘防水电缆、电焊机用电缆、控制电缆等。一般电力电缆的型号由分类代号和导体、内护层、派生及外护层代号等组成。分类代号为:Z——纸绝缘;X——橡胶绝缘;V——塑料绝缘;YJ——交联聚乙烯绝缘。导体及内护层等代号:T——铜(省略);L——铝;Q——铅包;L——铝包;H——普通橡套;V——塑料护套。外护层代号(新标准):22——钢带铠装;32——细钢丝铠装;42——粗钢丝铠装。
2.电缆型号的选择
各种型号电缆的使用环境和敷设方式都有一定的要求。使用时应根据不同的环境特征选择,考虑原则主要是安全、经济和施工方便。选择电缆时应注意下列各点。
1)为了防水,室内用电缆均无黄麻保护层。
2)地面用电力电缆一般应选用铝芯电缆(有剧烈振动的场所除外)。在有爆炸危险的场所,应选用铜芯铅包电缆,并应采用裸钢带铠装电缆,因为有了一层铠装后,可减少引起爆炸的可能性。
3)直埋敷设的电缆一般采用有外护层的铠装电缆。在不会引起机械损伤的场所,也可采用无铠装的电力电缆。
4)对照明、通讯和控制电缆,应选用橡胶或塑料绝缘的专用电缆。
5)油浸纸绝缘电力电缆只允许用于高差在15m(6~10kV高压电缆)至25m(1~3kV电缆)以下的范围内,超过时应选用干绝缘、不滴流、聚氯乙烯绝缘或交联聚乙烯绝缘的电力电缆。
三、电缆的支架与电缆夹
电缆支架用于支持电缆,使其相互之间保持一定的距离,便于散热、修理及维护;在短路时,避免波及邻近电缆。
在地面电缆支架多用型钢制作,将电缆排放在支架上,并加以固定。(http://www.gdzrlj.com/版权所有)在永久性电缆隧道中,采用电缆钩悬挂电缆;对于非永久性电缆隧道,可采用木楔或帆布袋吊挂,以便在电缆承受意外重力时,吊挂物首先损坏,电缆自由坠落免遭破坏。
在需要对电缆进行固定或承担电缆自重的地方(如垂直或倾角大于30度的场所)敷设电缆时,应采用电缆夹(卡)固定,但应防止电缆被夹伤。电缆夹的型式可按敷设需要进行选择。
四、电缆联接盒与终端盒
油浸纸绝缘电力电缆的相互联接处与电缆终端是电缆最薄弱的环节,应给予特别注意,以免发生短路故障。为了加强绝缘,防止绝缘油的流失及潮气侵入,两段电缆联接处应采用电缆联接盒;电缆末端则应用电缆终端盒与电气设备联接。
图4是环氧树脂中间联接盒的结构示意图,图5是环氧树脂终端盒的结构示意图。用环氧树脂浇注的电缆联接盒具有绝缘和密封性能好、体积小,重量轻、运行可靠性高等优点。

图4 电缆环氧树脂中间联接盒
1-统包绝缘层;2―缆芯绝缘;3―扎锁管(管内两线芯对接);
4-扎锁管涂包层;5-铅包

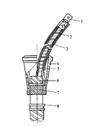
图5 电缆环氧树脂终端联接盒
1-引线接卡;2-缆芯绝缘;3-电缆线芯;4-预制环氧化壳(可代以铁皮模具);
5-环氧树脂胶(现场浇注);6-统包绝缘;7-铅包;8-接地线卡