有功功率的测量
时间:2023-03-11来源:佚名
|
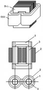
【瓦特表(功率表)】电路或负载的有功功率,用瓦特表来测量。瓦特表也称为功率表,它由两个线圈构成,如图8-8-1所示。 【瓦特表的接线方式】 瓦特表与被测电路(元件)的连接方式如图8-8-1所示,电流线圈和电压线圈均标出一个“*”号端,分别对应于电流流入端和电压正极性端。电压线圈可以接到电流线圈不打“*”号的端子,称为电压线圈后接,也可接到电流线圈打“*”号的端子,称为电压线圈前接。瓦特表的两种接法的差别在于测量误差的分析不同。 【瓦特表的读数】图8-8-1中, 瓦特表的读数 在此就是负载ZL消耗的有功功率。 【例8-8-1】 试确定图8-8-2所示电路中瓦特表的读数,并说明读数的物理含义。
解 通过计算流过电流线圈的电流和加在电压线圈两端的电压来确定瓦特表的读数。依据瓦特表的“*”号端的含义,电压和电流参考方向如图中所示。有
可用节点分析方程确定电压
解得
瓦特表的读数为
测得的是电流源吸收的有功功率。 |



,有











