变电所的主接线是由各种电气设备(变压器、断路器、隔离开关等)及其连接线组成,用以接受和分配电能,是供电系统的组成部分。它与电源回路数、电压和负荷的大小、级别以及变压器的台数、容量等因素有关,所以变电所的主结线有多种形式。确定变电所的主结线对变电所电气设备的选择、配电装置的布置及运行的可靠性与经济性等都有密切的关系,是变电所设计的重要任务之一。
一、线路-变压器组接线
当供电电源只有一回线路,变电所装设单台变压器时,宜采用线路-变压器组结线,如图1所示。

图1 线路-变压器组接线
a-进线为隔离开关;b-进线为跌落式保险;c-进线为断路器
变电所变压器的高压侧可以装设隔离开关QS、高压跌落式熔断器FU或高压断路器QF受电,装设哪种设备合适视具体情况而定。
线路-变压器组接线方式的优点是结线简单,使用的设备少,基建投资省。缺点是供电可靠性低,当主接线中任一设备(包括供电线路)发生故障或检修时,全部负荷都将停电。所以这种接线方式多用于仅有二、三级负荷的变电所,如大型企业的车间变电所和小型用电单位的10kV变电所等。
二、桥式接线
为了保证对一、二级负荷进行可靠供电,在企业变电所中广泛采用由两回电源线路受电和装设两台变压器的桥式主接线。桥式接线分为内桥、外桥和全桥三种,其接线如图2所示。

图2 桥式接线
a-外桥接线;b-内桥接线;c-全桥接线
图中WL1和WL2为两回电源线路,经过断路器QF1和QF2分别接至变压器T1和T2的高压侧,向变电所送电。断路器QF3犹如桥一样将两回线路连在一起,由于断路器QF3可能位于线路断路器QF1、QF2的内侧或外侧,故又分为内桥和外桥接线。
全桥接线适应性强,对线路、变压器的操作均方便,运行灵活,且易于扩展成单母线分段式的中间变电所(高压有穿越负荷时)。缺点是设备多、投资大,变电所占地面积较大。
外桥接线对变压器的切换方便,比内桥少两组隔离开关,继电保护简单,易于过渡到全桥或单母线分段的接线,且投资少,占地面积小。缺点是倒换线路时操作不方便,变电所一侧无线路保护。所以这种结线适用于进线短而倒闸次数少的变电所;或变压器采取经济运行需要经常切换的终端变电所;以及可能发展为有穿越负荷的变电所。
内桥接线一次侧可设线路保护,倒换线路时操作方便,设备投资与占地面积均较全桥少。缺点是操作变压器和扩建成全桥或单母线分段不如外桥方便。所以适用于进线距离长,变压器切换少的终端变电所。
对于内桥接线,为了在检修线路断路器QF1或QF2时不使供电中断,可在线路断路器的外侧增设由两组隔离开关构成的跨条,并且在跨条上联接所用电变压器T3,如图2b虚线所示。
在内桥接线中,主变压器一次绕组由隔离开关与母线联接,对环形供电的变电所,在操作时常被迫用隔离开关切、合空载变压器。(http://www.gdzrlj.com/版权所有)当主变压器为35kV,容量在7500kVA及以上;电压60kV,容量在10000kVA及以上;电压110kV,容量在31500kVA以上时,其空载电流就超过了隔离开关的切、合能力。此时必须改用由五个断路器组成的全桥接线,才能满足要求。
三、单母线分段式接线
有穿越负荷的两回电源进线的中间变电所,其受、配电母线以及桥式结线变电所主变压器二次测的配电母线,多采用单母线分段的接线方式,如图3所示。

图3 单母线分段主接线
当某回受电线路或变压器因故障及检修停止运行时,可通过母线分段断路器的联络,保证继续对两段母线上的重要负荷供电。所以多用于具有一、二级负荷,且进、出线较多的变电所。
母线采用断路器分段比用隔离开关操作方便,运行灵活,可实现自动切换以提高供电的可靠性。一般只在出线较少,供电可靠性要求不高时,为了经济才采用隔离开关作为母线的联络开关。
单母线分段主接线的不足之处是当其中任一段母线需要检修或发生故障时,接于该段母线的全部进、出线均停止运行。为此,一、二级负荷必须由接在两段母线上的环形系统或双回路供电,以便互为备用。
单母线分段比双母线所用设备少,系统简单、经济,操作安全。
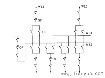
四、双母线接线
双母线接线如图4所示。这种接线方式有两组母线WB1和WB2,两组母线之间用断路器QF联络,每一回路都通过一台断路器和两台隔离开关分别接到两组母线上,因此不论哪一回路电源与哪一组母线同时发生故障,都不影响对用户的供电,故可靠性高,运行灵活。双母线接线的缺点是设备投资多,接线复杂,操作安全性较差。这种接线主要用于负荷容量大,可靠性要求高,进、出线回路多的重要变电所。

图4 双母线接线