常见热能转换装置的工作过程
|
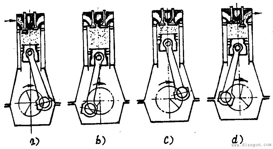
本文通过简要介绍常见的热能转换装置的工作过程,建立工质、热力系统、热力状态、状态参数、可逆过程、循环等概念,使我们能正确理解这些基本概念的定义和意义。 常见热能转换装置的工作过程:1、柴油机工作过程 柴油机是活塞式内燃机的一种,它的基本结构由固定部件、运动部件、配气系统、燃油系统、润滑系统、冷却系统、操纵系统组成,图1是四冲程柴油机工作原理示意图。 柴油以雾状喷入气缸,在气缸中与高温高压的空气混合并燃烧,燃烧后的高温高压燃气推动活塞下行并带动曲轴转动。燃料的化学能通过燃烧转化为热能,又通过曲柄连杆机构转化为输出的机械能,通过进、排气过程完成新鲜空气与废气的置换。
图1四冲程柴油机工作原理示意图 1)燃气轮机装置工作过程 简单的燃气轮机装置包括压气机、燃气轮机、燃油泵和燃烧室。图2是燃气轮机装置的示意图。油泵和压气机向燃烧室供给增压后的燃油和空气,它们在其中混合并燃烧,释放出热能,燃烧后的高温燃气在叶轮前的喷管中膨胀,把热能转换成动能,高温燃气转变成高速气流,高速气流冲击叶轮叶片,并使叶轮轮轴转动,向外输出机械能,作功后的废气由排气口排向大气并在大气中放热。
图2燃气轮机装置示意图 2)、蒸汽动力装置工作过程 蒸汽动力装置由锅炉、蒸汽轮机、冷凝器、水泵所组成,燃料在锅炉的炉膛内燃烧,将燃料的化学能转变成烟气的热能,经炉膛沸水管壁传热给管内的水,水受热后变成蒸汽储藏在汽包内,包内的蒸汽又通过过热器进一步加热后,输送到汽轮机,蒸汽进入汽轮机后,先在汽轮机进口处的喷管中膨胀,转变成高速气流,高速气流冲击汽轮机叶片,并使汽轮机轮轴转动,向外输出机械能。作功后的乏汽排入冷凝器,在冷凝器中放热并冷凝成水,水再由水泵送入锅炉,经加热后又变成蒸汽。如此循环往复,蒸汽动力装置就不断地将热能转换成机械能并传输给外界。 3)、蒸汽压缩制冷装置的工作过程 产生并保持比环境温度低的温度需要制冷装置。在船上及生活等领域普遍采用蒸汽压缩制冷装置。蒸汽压缩制冷装置的基本设备由压缩机、冷凝器、热力膨胀阀、蒸发器(冷库)所组成,图4为它的示意图。
图4 蒸汽压缩制冷装置工作示意图 从对上述四个热能转换装置工作过程的介绍可以看出,柴油机、燃气动力装置、蒸汽动力装置虽然它们的工作原理、设备各不相同,但都是将热能转变成机械能的装置,这也是一切热动力机能量转换的共同方式;而蒸汽压缩制冷装置则是用消耗机械能的方式将低温制冷剂升高温度,使从冷库中取出的低温热量和消耗的压缩功一起放给环境。消耗一定的能量才能使低温热量传向高温环境,这也是一切制冷装置的工作原理。 2、工质 从上述热力设备的工作过程中我们知道,在热能和机械能的相互转换中必须要有一个工作物质,例如柴油机的工作物质为空气和燃气,蒸汽动力装置的工质为水和水蒸汽,蒸汽压缩制冷装置的工作物质为制冷剂。在热力转换过程中由这个工作物质来吸收热量膨胀并对外做功,或者由这个工作物质把从冷库吸收的热量放给环境,没有这个工作物质,就不可能实现热能和机械能之间的转换。我们把这个工作物质称为工质,即实现热能和机械能相互转换的媒介物称为工质。 作为工质的物质必须具有良好的膨胀性、压缩性和流动性。所以,热动力装置所用的工质都为气态物质,如空气、燃气和蒸汽。 1)热力学系统 从上述热能转换装置的工作过程我们知道,任何一种能量转换装置都是由几个相互作用的实现能量转换或传递的热力设备所组成的。例如蒸汽动力装置是由锅炉、蒸汽轮机、冷凝器、水泵所组成。为了进行热力学分析,首先我们要在相互作用的各种热力设备中划分一个(或几个)热力设备作为研究对象,这种被划分出来的研究对象称为热力学系统,简称系统。系统之外的其它热力设备统称为外界。系统与外界的分接口称为边界。边界可以是真实的,也可以是设想的。例如取压缩空气瓶内的空气为系统,则瓶的内壁面就是真实的边界;而当取废气涡轮内的空气作为系统时,则进出口处的边界是设想的。 热力学系统与外界一般有三种相互作用:系统与外界的物质交换,热的交换和功的交换。按照系统与外界相互作用的特点,在热力学中往往把系统分为下述几类。 开口系统:系统与外界有物质的交换。例如把废气涡轮选作系统,它有工质的流入与流出,这就是开口系统,如图6所示。开口系统与外界可以有热和功的交换,也可以没有。
图5封闭系统
图6 开口系统
图7 绝热系统 绝热系统:系统与外界没有热量的交换。如图7所示的燃气膨胀时有热量传给冷却水,如取燃气和冷却水(通常称为冷源)为系统,则包括燃气和冷却水的系统与外界没有热交换,因而该系统为绝热系统。 2)热力系统的状态参数 从上面的讨论可以知道,当系统处于平衡状态时,可以用确定的唯一的一组状态参数值来描述它。在工程热力学里,常用的状态参数有六个,即压力、温度、容积、内能、焓和熵。在这六个状态参数中,只需知道其中任意两个独立的状态参数就可以决定一个状态,所以工质的状态也可以用参数坐标图表示。
图8 弹簧管压力表 图9 U形管压力计 当绝对压力高于大气压力(p> pb)时,压力表(计)指示的数值称为表压力,用pg表示,如图9(a)所示。显然,这时系统绝对压力为:
当绝对压力低于大气压力(p< pb)时,压力表(计)指示的读数称为真空度,用pv表示,如图9(b)所示。显然,这时系统的绝对压力为:
3)、温度
若已知华氏温度为toF,则相当于摄氏温度为
若已知摄氏温度为t℃,则绝对温度为
4)、容积和比容 6)、焓和比焓 因为工质流经开口系统时其比内能u和压力与比容的乘积pv总是同时出现,所以在热力学中把这两者之和称这比焓,用h表示,单位是KJ/kg。即 对于mkg处于平衡状态的工质,则有 对内能U或比内能u、焓H或比焓h、熵S或比熵s,在热力学的计算中只用到它们的变化量,因此它们为零值的基准态可以人为地选定。 |










即 将上式两边除以m,得






