高低速电机原理与接线图
时间:2023-03-13来源:佚名
|
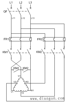
高低速是通过改变电机的极对数达到三相电机调速的目的。 低速时运行KM1吸合,此时电机为四极电机,转速在1500左右。高速时,KM2,KM3同时吸合,电机为2极电机,转速成在3000转左右。 ![]() ![]() ![]() 低速时 高速时 双速电动机属于异步电动机变极调速,是通过改变定子绕组的连接方法达到改变定子旋转磁场磁极对数,从而改变电动机的转速。 根据公式;n1=60f/p可知异步电动机的同步转速与磁极对数成反比,磁极对数增加一倍,同步转速n1下降至原转速的一半,电动机额定转速n也将下降近似一半,所以改变磁极对数可以达到改变电动机转速的目的。这种调速方法是有级的,不能平滑调速,而且只适用于鼠笼式电动机。 此图介绍的是最常见的单绕组双速电动机,转速比等于磁极倍数比,如2极/4极、4级/8极,从定子绕组△接法变为YY接法,磁极对数从p=2变为p=1。 ∴转速比=2/1=2 |









