直流电机纵向剖视图
|
1—换向器 2—电刷装置 3—机座 4—主磁极 5—换向极 6—端盖 7—风扇 8—电枢绕组 9—电枢铁心 换向极的作用是改善换向,减小电机运行时电刷与换向器之间可能产生的换向火花,一般装在两个相邻主磁极之间,由换向极铁心和换向极绕组组成,如所示。换向极绕组用绝缘导线绕制而成,套在换向极铁心上,换向极的数目与主磁极相等。 (3)机座 电机定子的外壳称为机座,见图中的3。机座的作用有两个:一是用来固定主磁极.换图第五节 主磁极的结构 向极和端盖,并起整个电机的支撑和固定作用; 1—主磁极 2—励磁绕组 3—机座 二是机座本身也是磁路的一部分,借以构成磁极之间磁的通路,磁通通过的部分称为磁轭。为保证机座具有足够的机械强度和良好的导磁性能,一般为铸钢件或由钢板焊接而成。 (4)电刷装置 电刷装置是用来引入或引出直流电压和直流电流的,如图2所示。电刷装置由电刷.刷握.刷杆和刷杆座等组成。电刷放在刷握内,用弹簧压紧,使电刷与换向器之间有良好的滑动接触,刷握固定在刷杆上,刷杆装在圆环形的刷杆座上,相互之间必须绝缘。刷杆座装在端盖或轴承内盖上,圆周位置可以调整,调好以后加以固定。 1—换向极铁心1—刷握2—电刷 2—换向极绕组3—压紧弹簧 4—刷辫 2.转子(电枢) (1)电枢铁心 电枢铁心是主磁路的主要部分,同时用以嵌放电枢绕组。一般电枢铁心采用由0.5mm厚的硅钢片冲制而成的冲片叠压而成(冲片的形状如图4(a)所示),以降低电机运行时电枢铁心中产生的涡流损耗和磁滞损耗。叠成的铁心固定在转轴或转子支架上。铁心的外圆开有电枢槽,槽内嵌放电枢绕组。 (2)电枢绕组 电枢绕组的作用是产生电磁转矩和感应电动势,是直流电机进行能量变换的关键部件,所以叫电枢。它是由许多线圈(以下称元件)按一定规律连接而成,线圈采用高强度漆包线或玻璃丝包扁铜线绕成,不同线圈的线圈边分上下两层嵌放在电枢槽中,线圈与铁心之间以及上.下两层线圈边之间都必须妥善绝缘。为防止离心力将线圈边甩出槽外,槽口用槽楔固定,如图5所示。线圈伸出槽外的端接部分用热固性无纬玻璃带进行绑扎。 在直流电动机中,换向器配以电刷,能将外加直流电源转换为电枢线圈中的交变电流,使电磁转矩的方向恒定不变;在直流发电机中,换向器配以 电刷,能将电枢线圈中感应产生的交变电动势转换为正.负电刷上引出的直流电动势。换向器是由许多换向片组成的圆柱体,换向片之间用云母片绝缘,换向 图5 电枢槽的结构 1—槽楔2—线圈绝缘3—电枢导体4—层间绝缘5—槽绝缘6—槽底绝缘 片的紧固通常如图3.10所示,换向片的下部做成鸽尾形,两端用钢制V形套筒和V形云母环固定,再用螺母锁紧。 (4)转轴 转轴起转子旋转的支撑作用,需有一定的机械强度和刚度,一般用圆钢加工而成。 图8 单波绕组元件 1—首端 2—末端 3—元件边4—端接部分 5—换向片 |
(2)换向极
图2 换向极图3 电刷装置
图4 转子结构图
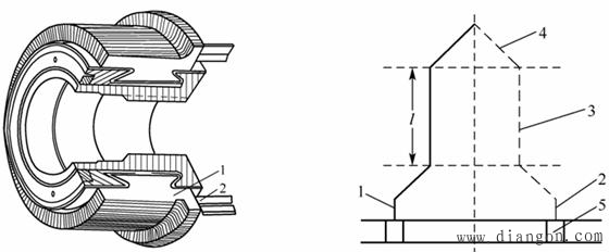
(3)换向器
图6 换向器结构图7 单叠绕组元件
1—换向片2—连接部分1—首端 2—末端 3—元件边4—端接部分 5—换向片 






