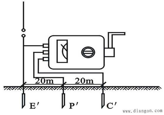
接地电阻测量仪(接地摇表)是用于接地电阻测量的专用仪表。常用的接地电阻测量仪主要有ZC-8型和ZC-29型等几种。 ZC-8型测量仪由手摇发电机、电流互感器、滑线电阻及检流计等组成,全部机构都装在铝合金铸造的便携式外壳内,由于外形与普通摇表(兆欧表)相似,所以一般又称为接地摇表。 一、测量接地电阻前的准备工作及正确接线 接地电阻测量仪仪有三个接线端子和四个接线端子两种,它的附件包括两支接地探测针、三条导线(其中5m长的用于接地板,20m长的用于电位探测针,40m长的用于电流探测针)。 测量前做机械调零和短路试验,将接线端子全部短路,慢摇摇把,调整测量标度盘,使指针返回零位,这时指针盘零线、表盘零线大体重合,则说明仪表是好的。按图接好测量线。
 接地电阻测量仪 二、摇测方法 1、选择合适的倍率。 2、以每分钟120转的速度均匀地摇动仪表的摇把,旋转刻度盘,使指针指向表盘零位。 3、读数,接地电阻值为刻度盘读数乘以倍率。 三、使用接地电阻测量仪的注意事项 1、二人操作。 2、被测量电阻与辅助接地极三点所成直线不得与金属管道或邻近的架空线路平行。 3、在测量时被测接地极应与设备断开 4、接地电阻测量仪不允许做开路试验.
|