电感器的识别与检测方法

时间:2023-03-13来源:佚名

1、电感器习惯上简称为电感,是常用的基本电子元件之一。电感器种类繁多,形状各异,较常见的有:单层平绕空芯电感线圈、间绕空芯电感线圈、脱胎空芯线圈、多层空芯电感线圈、蜂房式电感线圈、带磁芯电感线圈、磁罐电感线圈、高频阻流圈、低频阻流圈、固定电感器等(图1)。

电感器的识别与检测方法

2、电感器的文字符号为“L”,图形符号如图2所示。

电感器的识别与检测方法

3、固定电感器(图3)是一种通用性强的系列化产品,线圈(往往含有磁芯)被密封在外壳内,具有体积小、重量轻、结构牢固、电感量稳定和使用安装方便的特点。

电感器的识别与检测方法

4、电感器的主要参数是电感量和额定电流。电感量的基本单位是亨利,简称亨,用字母“H”表示。在实际应用中,一般常用毫亨(mH)或微亨(μH)作单位。它们之间的相互关系是:1H=1000 mH,1 mH=1000μH。电感量的标示方法有两种。一种是直标法,即将电感量直接用文字印在电感器上,如图4所示。

电感器的识别与检测方法

5、另一种是色标法,即用色环表示电感量,其单位为μH。第1、2环表示两位有效数字,第3环表示倍乘数,第4环表示允许偏差(图5)。各色环颜色的含义与色环电阻器相同,可参阅有关文章。额定电流是指电感器在正常工作时,所允许通过的最大电流。使用中,电感器的实际工作电流必须小于额定电流,否则电感线圈将会严重发热甚至烧毁。

电感器的识别与检测方法

6、电感器是利用自感应原理工作的。电感线圈在通过电流时会产生自感电动势,自感电动势的大小与通过电感线圈的电流的变化率成正比,并且总是反对原电流的变化(图6)。因此,电感器具有通直流、阻交流的功能。

电感器的识别与检测方法

7、电感器对交流电所呈现的阻力称之为感抗,用符号“XL”表示,单位为Ω。感抗等于电感器两端交流电压(有效值)与通过电感器的交流电流(有效值)的比值。感抗XL分别与交流电的频率f和电感器的电感量L成正比(图7),即XL=2 лfL(Ω)。

电感器的识别与检测方法

8、电感器的作用很多。图8所示为电感器用于整流电源滤波,L与C1、C2组成π型LC滤波器。由于L具有通直流阻交流的功能,因此,整流输出的脉动直流电Ui中的直流成分可以通过L,而交流成分绝大部分不能通过L,被C1、C2旁路到地,输出端U0便是纯净的直流电了。

电感器的识别与检测方法

9、电感器可以用于区分高、低频信号。图9所示为来复式收音机中高频阻流圈的应用实例,由于高频阻流圈L对高频电流感抗很大而对音频电流感抗很小,晶体管VT集电极输出的高频信号只能通过C进入检波电路。检波后的音频信号再经VT放大后则可以通过L到达耳机。

电感器的识别与检测方法

10、电感器可以用于谐振选频回路。图10所示为收音机高放级电路,可变电感器L与C1组成调谐回路,调节L即可改变谐振频率,起到选台的作用。

电感器的识别与检测方法

11、电感器的好坏可以用万用表进行检测(图11)。将万用表置于“R×1”挡,两表笔(不分正、负)与电感器的两引脚相接,表针指示应接近为“0Ω”,电感量较大的电感器应有一定的阻值。如果表针不动,说明该电感器内部断路;如果表针指示不稳定,说明内部接触不良。

电感器的识别与检测方法

12、变压器也是一种常用元器件,其种类繁多,大小形状千差万别。无线电与电子制作中较常用的有:电源变压器、音频输入变压器、输出变压器、中频变压器、高频变压器、脉冲变压器等(图12)。

电感器的识别与检测方法

13、变压器的文字符号为“T”,图形符号如图13所示。

电感器的识别与检测方法

14、变压器是利用互感应原理工作的,具有传交流隔直流、电压变换、阻抗变换和相位变换的作用。变压器由初级、次级两部分互不相通的线圈组成,它们之间由铁芯或磁芯作为耦合媒介(图14)。改变初、次级之间的圈数比,即可改变电压比和阻抗比。改变变压器线圈的接法,可以很方便地将信号电压倒相。

电感器的识别与检测方法

15、电源变压器是最常用的一类变压器。电源变压器的主要参数是功率和次级电压、电流。功率与铁芯截面的平方成正比,如图15(a)所示,铁芯截面越大,变压器功率越大。电源变压器的用途是电源电压变换,并可同时提供多种电源电压,以适应电子电路的需要,如图15(b)所示。制作时应根据需要选用具有符合要求的次级电压、电流的变压器。

电感器的识别与检测方法

16、电源变压器的另一用途是电源隔离。由于变压器的隔离作用,即使人体接触到电压U2,也不会与交流220V市电构成回路,保证了人身安全(图16)。这就是维修热底板家电时必须要用电源隔离变压器的道理。

电感器的识别与检测方法

17、音频变压器工作于音频范围,具有信号电压传输、分配和阻抗匹配的作用。图17所示为推挽功率放大器电路,输入变压器将信号电压传输、分配给晶体管VT1和VT2(送给VT2的信号还倒了相),使VT1和VT2交替放大正、负半周信号,然后再由输出变压器将信号合成输出。输出变压器同时还将扬声器的8Ω低阻变换为数百欧姆的高阻,与放大器的输出阻抗相匹配,使得放大器输出的音频功率最大而失真最小。

电感器的识别与检测方法

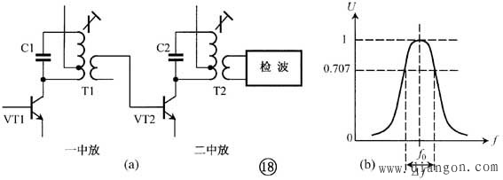
18、中频变压器习惯上简称为中周,应用于超外差收音机和电视机的中频放大电路中。中频变压器具有选频与耦合的作用。图18(a)所示为超外差收音机中放部分电路,中频变压器T1、T2的初级线圈分别与C1、C2谐振于465kHz,作为VT1、VT2的负载,因此,只有465kHz中频信号得到放大,起到了选频的作用。图18(b)为中频变压器幅频特性曲线,f0为谐振频率,Δf为通频带。

电感器的识别与检测方法

19、高频变压器通常是指工作于射频范围的变压器。收音机的磁性天线就是一个高频变压器,初级线圈与可变电容器C组成选频回路,选出的电台信号通过初、次级之间的耦合传输到高放或变频级VT1(图19)。

电感器的识别与检测方法

20、变压器可以用万用表进行检测(图20)。一是检测绕组线圈通断,二是检测绕组线圈之间的绝缘电阻,三是检测绕组线圈与铁芯之间的绝缘电阻。

电感器的识别与检测方法

    相关阅读

    数控机床维修调试试题

    1、 故障率浴盆三个时期失效期、稳定期、老化期。 2、 报警显示的故障和无报警显示的故障 →: 报警显示的故障可分为①硬件显示的故障与②软件显示的故障 3、 衡量数控机床 可靠...
    2023-03-21

    成套配电柜、控制柜(屏、台)和动力照明配电箱(盘)安装

    柜、屏、台、箱、盘的金属框架及基础型钢必须接地 (PE)或接零(PEN)可靠:装有电器的可开启门,门和框架的接地端子间且有标识。。 低压成套配电柜、控制柜(屏、台)和动力、照明配电...
    2023-04-30

    图解常用导线的连接方法,一学就会~

    【免费下载】 PLC软件下载_PLC软件安装教程_PLC手册下载_PLC案例下载! 【免费学习】 变频器精品课程_西门子PLC精品教程_三菱PLC精品教程! 导线,在自动化行业乃至电工行业都是非常重...
    2023-06-27

    三相四线制中线与零线的作用附三相四线制接线图

    有关三相四线制中线与零线的作用,一个三相四线制接线图,三相四线制中线的作用是流过三相负载的不(píng)衡电流,保持中性点的零点位,使负载电压保持不变,下面与电工之友小编...
    2023-06-26
    三相四线制中线与零线的作用附三相四线制接线图

    来看看厂里超牛电工接的地线,一般电工没有这种思维!

    最近,小编在浏览网页时偶然看到了一篇格外引人关注的帖子。这篇帖子所描述的内容,发生在一家颇具规模的工厂之中。 帖子里详细地叙述道,在那家工厂的某个车间里,有一位堪称超牛...
    2024-11-05
    来看看厂里超牛电工接的地线,一般电工没有这种思维!

    热销商品

    加厚abs安全帽电工建筑工地程施工领导监理透气防砸头盔可印字V型

    这款加厚ABS安全帽专为电工、建筑工地施工人员、领导及监理设计,采用高强度ABS工程塑料,抗冲击、防砸性能优异,有效保障头部安全。帽体加厚设计,增强耐用性与防护等级...
    5.8

    水口钳高硬度模型剪钳电子钳工业级口水剪斜嘴钳偏口斜口专用钳子

    水口钳高硬度模型剪钳是一款工业级精密工具,专为电子、模型制作及精细作业设计。采用优质高碳钢材质,经热处理工艺打造,具备卓越的硬度和耐磨性,可轻松剪切金属引脚、...
    4.8

    170电子剪钳II 如意斜口钳 工业斜嘴钳水口钳 模型剪塑胶钳尖嘴钳

    170电子剪钳II如意斜口钳是一款专业级精密工具,集工业斜嘴钳、水口钳、模型剪、塑胶钳与尖嘴钳功能于一体,适用于电子维修、模型制作、手工艺及精密作业。其采用优...
    4.5

    安全帽国标工地加厚施工领导透气安全头盔建筑工程监理免费印字

    本款安全帽严格遵循国家GB 2811-2019标准,专为建筑工程、工地施工及监理人员设计。采用高强度ABS工程塑料,加厚壳体有效抗冲击,保障头部安全。帽体轻盈透气,内置可调...
    10

    包邮三角型简易螺丝刀三角十字螺丝刀螺丝批改锥起子五金工具5mm

    这款5mm三角型简易螺丝刀,专为拧紧或拆卸三角形螺丝设计,适用于电子维修、家电维护及精密仪器装配等场景。采用优质合金钢材质,刀头硬度高、耐磨损,确保长久使用不变...
    3.64

    网站栏目