三相双层绕组有叠绕组
|
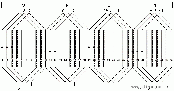
所谓交流电机的叠绕组,就是任何两个相邻的线圈都是最后一个叠在前一个的上面,然后将属于同一相的相邻线圈串联起来构成线圈组,再把线圈组串联与(或)并联的连接构成三相绕组。下面用一实例来说明。 例1 已知Z=36,2p=4,试绘制一个并联支路数a=1的三相双层叠绕组展开图。 解 分析绕组的构成,一般可以遵循这样的步骤:①绘制槽电动势星形图;②由槽电动势星形图分相;③将属于同一相的导体连接起来,构成线圈组,再连接构成一相绕组。 (1)绘制槽电动势星形图 由于本例题的极对数、槽数与例4.1相同,故槽电动势星形图与图完全相同。 在双层绕组中,上层线圈边的电动势星形与槽电动势星形完成相同。下层线圈边的位置取决于线圈的节距。如果我们把各个线圈的上层边电动势矢量与下层边电动势矢量相减,使得各线圈的电动势矢量,它们也构成一个电动势星形,相邻两矢量间相位差也是 (2)分相 所谓分相,将槽中各导体分配到各相绕组中去。分相的原则是使每相电动势最大,且三相电动势对称,一般在槽电动势星形图中划分。为了使三相电动势相等,每相在每极下应占有相等的槽数。每极每相槽数 对于A相,由于q=3,A相在每个极下应占有三槽。在第一对极距范围内,如果在S1极下将1、2、3三个槽划归A相,在旁边标以字母A,如图所示。为了使每相合成电动势最大,则应把N1极下的10、11、12三个槽也划归A相,标以字母X。类似地把第二对极距范围内的19、20、21和28、29、30等六个槽也划归A相。 为了使三相绕组对称,B相绕组的电动势应滞后A相电动势120°,由槽电动势星形图可知,7、8、9槽的合成电动势滞后1、2、3槽的合成电动势120°,则应7、8、9划分到B相绕组,同样16、17、18和25、26、27、34、35、36等槽也应划归B相。依次类推,13、14、15、22、23、24和31、32、33、4、5、6等槽应划归为C相。为清楚起见,现将分相结果列表如下: 表1 三相槽号(线圈)分配表(Z=36,p=2)
上述分相的特点是把每极下的电枢表面分为三等分,每相占一等分,故称每一等分为一相带。这里因每一相带宽度相当于60°电角度,为60°相带。 除上述分相方法外,也可选1、2、3、4、5、6和19、20、21、22、23、24等12个槽作为A相,7、8、9、10、11、12和25、26、27、28、29、30作为B相,以及13、14、15、16、17、18和31、32、33、34、35、36作为C相,而得到一个三相对称的120°相带,但其合成电动势要比60°相带小,故除了单绕组变极电机外,一般都用60°相带的绕组。 同理,每一相带可取30°电角度。这时每对极下有12个相带,可以接成十二组,也可以接成六组,即把12个相带接成两个星形连接的三相绕组,两个星形之间彼此位移30°电角度。这种六相30°相带绕组称为六相双Y移30°绕组。一般用于超巨型汽轮发电机和带整流负载的同步发电机上。 (3)绘制绕组展开图 绘绕组展开图就是根据星形图上分相的结果,把属于各相的导体按一定的规律连接起来,组成三相绕组。绘制展开图时,把电枢从齿中心沿轴向剖开,展开一平面,磁极在上面,如图所示。编号的原则是线圈和线圈的上层边所在的槽编为同一号码。绘图时,上层边用实线表示,下层边用虚线表示。其次把展开图上的槽分为2p等分,根据右手定则,标出各槽内导体电动势的方向。然后,选择线圈节距,以y1表示。电机极距为 以A相为例,根据图中A相所属的线圈矢量,把上层边的第一个极下的1、2、3三个线圈串联起来,(线圈1的尾与线圈2的头接在一起,余类推)构成一个线圈组。类似地,把在其他极下属于A相的10、11、12;19、20、21;28、29、30等线圈分别串联起来构成另外三个线圈组。这样,A相共有四个线圈组,如图所示。
图 三相双层绕组的展开图(A相) 从图4.7可见,每个线圈组的合成电动势大小相等,相位相同或相反,故每个线圈组可以独立成为一条支路。这样,对每极每相整数槽双层叠绕组,如果电机有2P个磁极,每相便有2P个线圈组,2P个线圈组可并可串,每相最大并联支路数 各线圈组是串联还并联,视所选并联支路数
a)并联支路数 图 线圈组的串并连接 同理,根据槽电动势星形图上划分的B相和C相所属线圈矢量,按同样规律连接起来,便构成B相和C相绕组。 叠绕组的优点是短距时能节省端部用铜和便于得到较多的并联支路。缺点是线圈组之间的连接线较长,在多极电机中这些连接线用铜量很大。叠绕组的线圈一般为多匝线圈,主要用在10kW以上的中、小型同步电机和感应电机以及大型同步电机的定子绕组中。 | |||||||||||||||||||||||||||
。所以在双层绕组里,槽电动势星形的每一个矢量既可以假定为槽内上层线圈边的电动势矢量也可以假定为一个线圈的电动势矢量。在下面的分析中就是把它看成一个线圈的电动势矢量,如矢量1是上层边嵌于槽1的线圈的电动势矢量。
,根据分相原则和每极每相槽数q,就可在星形图(图)上进行分相。
槽,选用短距绕组,取y1=7槽,则第一槽的上层导体与第八槽的下层导体连接起来构成第一个线圈,依次类推,可以构成第二个线圈、第三个线圈……。(图)。在双层绕组中,因为每槽放两个线圈边,而一个线圈有两个线圈边,所以线圈数等于槽数。在本例题中,Z=36,故有36个线圈。这时图所示的36根矢量可以认为是36个线圈的电动势矢量。
等于电机的极数,即
而定。本例要求并联支路数








