直流电动机的正确使用与维护
|
1.直流电动机使用前的检查 ①用压缩空气或手动吹风机吹净电动机内部灰尘、电刷粉末等,清除污垢杂物。 ②拆除与电动机连接的一切接线,用绝缘电阻表测量绕组对机座的绝缘电阻。若小于0.5MΩ时,应进行烘干处理,测量合格后再将拆除的接线恢复。 ③检查换向器的表面是否光洁,如发现有机械损伤或火花灼痕应进行必要的处理。 ④检查电刷是否严重损坏,刷架的压力是否适当,刷架的位置是否位于标记的位置。 ⑤根据电动机铭牌检查直流电动机各绕组之间的接线方式是否正确,电动机额定电压与电源电压是否相符,电动机的起动设备是否符合要求,是否完好无损。 2.直流电动机的使用 ①直流电动机在直接起动时因起动电流很大,这将对电源及电动机本身带来极大的影响。因此,除功率很小的直流电动机可以直接起动外,一般的直流电动机都要采取减压措施来限制起动电流。 ②当直流电动机采用减压起动时,要掌握好起动过程所需的时间,不能起动过快,也不能过慢,并确保起动电流不能过大(一般为额定电流的1~2倍)。 ③在电动机起动时就应做好相应的停车准备,一旦出现意外情况时应立即切除电源,并查找故障原因。 ④在直流电动机运行时,应观察电动机转速是否正常;有无噪声、振动等;有无冒烟或发出焦臭味等现象,如有应立即停机查找原因。 ⑤注意观察直流电动机运行时电刷与换向器表面的火花情况。在额定负载工况下,一般直流电动机只允许有不超过1 1/2级的火花。电刷下火花的等级,见表1 表1
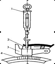
⑥串励电动机在使用时,应注意不允许空载起动,不允许用带轮或链条传动;并励或他励电动机在使用时,应注意励磁回路绝对不允许开路,否则都可能因电动机转速过高而导致严重后果的发生。 3.直流电动机的维护 应保持直流电动机的清洁,尽量防止灰沙、雨水、油污、杂物等进入电动机内部。 直流电动机结构及运行过程中存在的薄弱环节是电刷与换向器部分,因此必须特别注意对它们的维护和保养。 3.1换向器的维护和保养 换向器表面应保持光洁,不得有机械损伤和火花灼痕。如有轻微灼痕时,可用0号砂纸在低速旋转的换向器表面仔细研磨。如换向器表面出现严重的灼痕或粗糙不平、表面不圆或有局部凸凹等现象时,则应拆下重新进行车削加工。车削完毕后,应将片间云母槽中的云母片下刻lmm左右,并清除换向器表面的金属屑及毛刺等,最后用压缩空气将整个电枢表面吹扫干净,再进行装配。 换向器在负载作用下长期运行后,表面会产生一层坚硬的深褐色薄膜,这层薄膜能够保护换向器表面不受磨损,因此要保护好这层薄膜。 3.2电刷的使用 电刷与换向器表面应有良好的接触,正常的电刷压力约为15~25kPa,可用弹簧秤进行测量,如图.1所示。电刷与刷盒的配合不宜过紧,应留有少量的间隙。 图.1 电刷磨损或碎裂时,应更换牌号、尺寸规格都相同的电刷,新电刷装配好后应研磨光滑,保证与换向器表面有80%左右的接触面。 4.直流电动机的常见故障及检修 4.1直流电动机的常见故障及排除 直流电动机的常见故障及排除见表4.1 表4.1
|






