PLC继电器和晶体管输出的特点及使用中的注意事项
|
1、继电器和晶体管输出工作原理
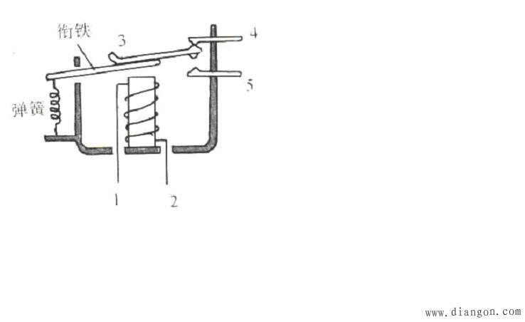
继电器是一种电子控制器件,它具有控制系统(又称输入回路)和被控制系统(又称输出回路),通常应用于自动控制电路中,它实际上是用较小的电流去控制较大电流的一种“自动开关”。电磁式继电器一般由铁芯、线圈、衔铁、触点簧片等组成的(如图1所示)。只要在线圈两端加上一定的电压,线圈中就会流过一定的电流,从而产生电磁效应,衔铁就会在电磁力吸引的作用下克服返回弹簧的拉力吸向铁芯,从而带动衔铁的动触点与静触点(常开触点)吸合。当线圈断电后,电磁的吸力也随之消失,衔铁就会在弹簧的反作用力返回原来的位置,使动触点与原来的静触点(常闭触点)吸合。这样吸合、释放,从而达到了在电路中的导通、切断的目的。从继电器的工作原理可以看出,它是一种机电元件,通过机械动作来实现触点的通断,是有触点元件。
图1 电磁式继电器结构图 晶体管是一种电子元件,它是通过基极电流来控制集电极与发射极的导通。它是无触点元件。 2、继电器与晶体管输出的主要差别 由于继电器与晶体管工作原理的不同,导致了两者的工作参数存在了较大的差异,下面以艾默生EC系列plc相关数据为例进行比较说明(输出口主要规格参见表1) (1)驱动负载不同 继电器型可接交流220V或直流24V负载,没有极性要求;晶体管型只能接直流24V负载,有极性要求。 继电器的负载电流比较大可以达到2A,晶体管负载电流为0.2-0.3A。同时与负载类型有关,具体参见表1。
表1 输出端口规格 (2)响应时间不同 继电器响应时间比较慢(约10ms-20ms),晶体管响应时间比较快,约0.2ms-0.5ms,Y0、Y1甚至可以达到10 us。 (3)使用寿命不同 继电器由于是机械元件受到动作次数的寿命限制,且与负载容量有关,详见表2,从表中可以看出,随着负载容量的增加,触点寿命几乎按级数减少。晶体管是电子原件只有老化,没有使用寿命限制。
表2 继电器使用寿命 3、继电器与晶体管输出选型原则 继电器型输出驱动电流大,响应慢,有机械寿命,适用于驱动中间继电器、接触器的线圈、指示灯等动作频率不高的场合。晶体管输出驱动电流小,频率高,寿命长,适用于控制伺服控制器、固态继电器等要求频率高、寿命长的应用场合。在高频应用场合,如果同时需要驱动大负载,可以加其他设备(如中间继电器,固态继电器等)方式驱动。 4、驱动感性负载的影响
继电器控制接触器等感性负载的开合瞬间,由于电感具有电流具有不可突变的特点,因此根据U=L*(dI/dt),将产生一个瞬间的尖峰电压在继电器的两个触点之间,该电压幅值超过继电器的触点耐压的降额;继电器采用的电磁式继电器,触点间的耐受电压是1000V(1min),若触点间的电压长期的工作在1000V左右的话,容易造成触点金属迁移和氧化,出现接触电阻变大、接触不良和触点粘接的现象。而且动作频率越快现象越严重。瞬间高压如下图2所示,持续的时间在1ms以内,幅值为1KV以上。晶体管输出为感性负载时也同样存在这个问题,该瞬时高压可能导致晶体管的损坏。 因此当驱动感性负载时应在负载两端接入吸收保护电路。当驱动直流回路的感性负载(如继电器线圈)时,用户电路需并联续流二极管(需注意二极管极性);若驱动交流回路的感性负载时,用户电路需并联RC浪涌吸收电路,以保护PLC的输出触点。PLC输出触点的保护电路如图3所示。 740)this.width=740">
图3 PLC输出触点的保护电路 5、使用中应注意的事项 目前市场上经常出现继电器问题的客户现场有一个共同的特点就是:出现故障的输出点动作频率比较快,驱动的负载都是继电器、电磁阀或接触器等感性负载而且没有吸收保护电路。因此建议在PLC输出类型选择和使用时应注意以下几点:(1) 一定要关注负载容量。输出端口须遵守允许最大电流限制(如表1所示),以保证输出端口的发热限制在允许范围。继电器的使用寿命与负载容量有关,当负载容量增加时,触点寿命将大大降低(如表2所示),因此要特别关注。 (2) 一定要关注负载性质。根据第4节的分析,感性负载在开合瞬间会产生瞬间高压,因此表面上看负载容量可能并不大,但是实际上负载容量很大,继电器的寿命将大大缩短,因此当驱动感性负载时应在负载两端接入吸收保护电路。尤其在工作频率比较高时务必增加保护电路。从客户的使用情况来看,增加吸收保护电路后的改善效果十分明显。 根据电容的特性,如果直接驱动电容负载,在导通瞬间将产生冲击浪涌电流,因此原则上输出端口不宜接入容性负载,若有必要,需保证其冲击浪涌电流小于规格(见表1)说明中的最大电流。(3) 一定要关注动作频率。当动作频率较高时,建议选择晶体管输出类型,如果同时还要驱动大电流则可以使用晶体管输出驱动中间继电器的模式。当控制步进电机/伺服系统,或者用到高速输出/PWM波,或者用于动作频率高的节点等场合,只能选用晶体管型。PLC对扩展模块与主模块的输出类型并不要求一致,因此当系统点数较多而功能各异时,可以考虑继电器输出的主模块扩展晶体管输出或晶体管输出主模块扩展继电器输出以达到最佳配合。 事实证明,根据负载性质和容量以及工作频率进行正确选型和系统设计,输出口的故障率明显下降,客户十分满意。 | ||||||||||||||||||||||||||||||||||||||||||||||||||||||||||||||||||||||||||||||||||
740)this.width=740">
740)this.width=740">图2 驱动感性负载时产生的瞬间高压
740)this.width=740">







