同步电机的结构
|
我们只研究同的电磁关系,因此,电机结构只考虑定转子、绕组和磁路 隐极机和凸极机在于转子的不同形状 1.隐极同步发电机的基本结构 Constructionofcylindricalrotorgenerator 定子(stator)、转子(rotor)、轴承和端盖 (1)定子:定子铁心、绕组、机座及固定部件、附件 △定子铁心:采用0.5mm2D41硅钢片叠成
图1 同步电机定子铁心的结构 Turbo-generator Rotor Construction △定子绕组(armaturewinding):一般采用三相双层短距叠绕组,Y连接。 ①为避免电流太大,定子绕组选用较高电压 ②定子电流较大,每槽一般只嵌放两个有效导体(线棒),为减少涡流损耗,每根导体常由多股截面为15mm2以下的扁铜线并联而成,而有进行编织换位。
图2 同步电机电枢绕组的换位 (2)转子 △转子铁心:一般采用整块的高机械强度的,具有良好导磁性能的合金钢锻成,表面开有槽。 △转子绕组:扁铜线绕成的同心成绕组field winding △护环,中心环,滑环,风扇。
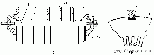
1-轴向风扇 2-径向风扇 3-中心环 4-护环 5-槽楔 6-护环 7-风扇 8-励磁机电枢 图3 汽轮发电机的转子 (3)端盖和轴承 3、凸极同步电机的基本结构 Construction of salient-pole generator 凸极机的气隙不均匀,主极轴线下气隙小,而极间气隙大。 隐极机的气隙均匀 ①the airgap is uniform ②the rotor m.m.f. may be taken to be distributed sinusoidally in space |










