|
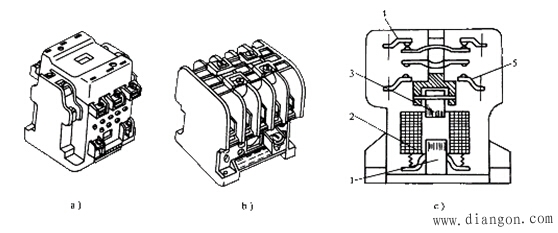
交流接触器的外形与结构组成如图1所示,它由电磁机构、触头系统、灭弧装置及其他部件等四部分组成。
 ①电磁机构 电磁机构由吸引线圈、铁心及衔铁组成。它的作用是将电磁能转换成机械能带动触点使之闭合或断开。 ②触点系统是接触器的执行元件,用来接通和断开电路。接触器触点系统包括主触点和辅助触点,主触点容量大,用于接通或断开主电路,根据其容量大小,有桥式触点和指形触点两种形式。辅助触点容量小,用在控制电路中起电气自锁或互锁作用。 ③灭弧装置 当主触点分断大电流时,在动、静触点间产生强列的电弧。电弧一方面会烧坏触点,另一方面会使电路切断时间延长,甚至会引起事故,为了使接触器可靠工作,必须采用灭弧装置使电弧迅速熄灭。容量在10A以上的接触器都有灭弧装置。10A下的接触器,常采用双断口桥形触点以利于灭弧。 ④其它部件包括反作用弹簧、触点压力弹簧、传动机构及外壳等。 交流接触器是这样工作的:当电磁线圈通电后,铁心被磁化产生磁通,由此在衔铁气隙处产生电磁力,将衔铁吸合,主触点在衔铁的带动下闭合,接通主电路,同时衔铁还带动辅助触点动作,动断辅助触点首先断开,接着动合辅助触点闭合。当线圈断电或外加电压显著降低时,在反力弹簧的作用下衔铁释放,主触点、辅助触点又恢复到原来的状态。
|