变压器的基本结构和工作原理
时间:2023-03-14来源:佚名
|
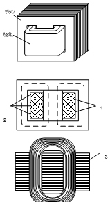
尽管变压器种类繁多,外型和体积有很大的差别,但它们的基本结构是相同的。主要由铁心和绕组两部分组成。图5-6为单相心式变压器,其特点是绕组包围铁心,这种变压器用铁量较少,结构简单,绕阻的安装和绝缘比较容易,多用于容量较大的变压器中。图5-7为单相壳式变压器,其特点是铁心包围着绕组,这种变压器用铜量较少,多用于小容量变压器中。无论是心式还是壳式变压器都有高压绕组和低压绕组,它们都绕在铁心上。为了减少铁损耗,铁心都用彼此绝缘的硅钢片叠成。 单相心式变压器,如图1所示:
1-低压绕阻;3-高压绕阻;3-铁心柱 图1 单相心式变压器 单相壳式变压器,如图2所示:
1-低压绕阻;2-高压绕阻;3-铁心 图2 单相壳式变压器 |







