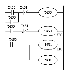
1. 编程器操作准备 编程器模式开关放在“PROGRAM”位置,基本单元放在“STOP”位置,使可编程控制器处于编程状态。键入程序前先进行清除原来存储程序,然后将图2的梯形图键入可编程控制RAM内。
 图1
 图2 编程器的键操作顺序如下:
 2. 若程序有错误 利用程序读出,查找。修改,删除,插入功能,对程序修改。 3. 若程序无误 将编程器模式开关放在“MONITOR”位置。基本单元放在“RUN".可编程控制器处于运行状态。对下面四种情况注意观察并作记录。 (1)X400接通,观察Y430。Y431输出批示灯的亮灭。 (2)断开X400,观察Y430。Y431输出批示灯的亮灭。 (3)用监控功能,分别监视Y430,Y431,T450,T451的工作情况。 (4)在监控方式下,将定时器T451的设定值改为30s。观察T451有何变化。
|