电动机点动连续双重控制
时间:2023-03-15来源:佚名
|
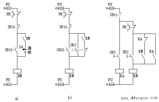
图中各控制线路具有点动控制与连续控制的双重功能。图a)控制线路中通过手动开关SA实现点动与连续控制的切换。SA置于“断”位置,按钮SB2是一个点动按钮;SA置于“通”位置,按钮SB2转换为起动连续控制按钮。
图b)控制线路中用按钮SB2、复合按钮SB3分别控制。点动控制按钮为SB3,按下复合按钮SB3,其动断触头断开接触器KM的自锁触头支路,动合触头所在支路接通,实现点动。连续控制按钮为SB2。 |






