车床的结构与工作原理
时间:2023-03-15来源:佚名
|
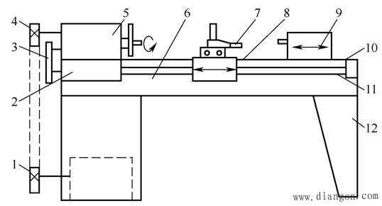
1.普通车床结构示意图
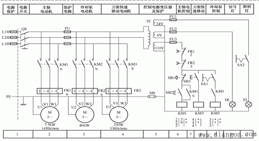
8-溜板;9-尾座; 10-丝杠;11-光杠;12-床腿 图1 普通车床结构示意图 2.车床的主要结构及控制要求: (1)车床的主要结构:普通车床主要由床身、主轴箱、进给箱、溜板箱、刀架、光杠、丝杠和尾座等部件组成如图2所示。 (2)控制要求: ① 主电动机M1完成主轴主运动和刀具的纵横向进给运动的驱动,电动机为不调速的笼型异步电动机,采用直接起动方式,主轴采用机械变速,正反转采用机械换向机构。 ② 冷却泵电动机M2加工时提供冷却液,防止刀具和工件的温升过高。采用直接起动方式和连续工作状态。 ③ 电动机M3为刀架快速移动电动机,可根据使用需要,随时手动控制起停。 3.电气原理图、接线图、元件布置图三者中电气原理图是基础。首先会读电气原理图和元件索引方法的使用,然后在掌握自锁、互锁等基本概念及技能的基础上,掌握三相异步电动机的启动和制动方法。
|









