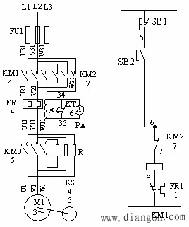
C650 卧式车床的电气控制原理图如下图所示。 1. 主电路
主电动机 M1 : KM1 、 KM2 两个接触器实现正反转, FR1 作过载保护, R 为限流电阻,电流表 PA 用来监视主电动机的绕组电流,由于主电动机功率很大,故 PA 接入电流互感器 TA 回路。当主电动机起动时,电流表 PA 被短接,只有当正常工作时,电流表 PA 才指示绕组电流。 KM3 用于短接电阻 R 。 冷却泵电机 M2 : KM4 接触器控制冷却泵电动机的起停, FR2 为 M2 的过载保护用热继电器。 快速电机 M3 : KM5 接触器控制快速移动电动机 M3 的起停,由于 M3 点动短时运转,故不设置热继电器。 2. 控制电路
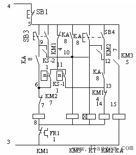
( 1 )主轴电动机的点动控制 下图所示,按下点动按钮 SB2 不松手→接触器 KM1 线圈通电→ KM1 主触点闭合→主轴电动机把限流电阻 R 串入电路中进行降压起动和低速运转。

图 车床主电动机点动控制电路 ( 2 )主轴电动机的正反转控制 下图所示,按下正向起动按钮 SB3 → KM3 线圈通电→ KM3 主触点闭合→短接限流电阻 R 同时另有一个常开辅助触点 KM3 ( 5 - 15 )闭合→ KA 线圈通电→ KA 常开触点( 5 — 10 )闭合→ KM3 线圈自锁保持通电→把电阻 R 切除同时 KA 线圈也保持通电。 另一方面,当 SB3 尚未松开时,由于 KA 的另一常开触点( 9 — 6 )已闭合→ KM1 线圈通电→ KM1 主触点闭合→ KM1 辅助常开触点( 9 — 10 )也闭合(自锁)→主电动机 M1 全压正向起动运行。

图 车床主电动机正反转及反接制动控制电路 上图中 SB4 为反向起动按钮,反向起动过程与正向类似。 ( 3 )主电动机的反接制动控制 C650 车床采用反接方式制动,用速度继电器 KS 进行检测和控制。 假设原来主电动机 M1 正转运行,见上图,则 KS-1 ( 11 — 13 )闭合,而反向常开触点 KS-2 ( 6 — 11 )依然断开。当按下反向总停按钮 SB1 ( 4 — 5 )后,原来通电的 KM1 、 KM3 、 KT 和 KA 就随即断电,它们的所有触点均被释放而复位。然而,当 SB1 松开后,反转接触器 KM2 立即通电,电流通路是: 4 (线号)→ SB1 常闭触点( 4 — 5 )→ KA 常闭触点( 5 — 11 )→ KS 正向常开触点 KS-1 ( 11 — 13 )→ KM1 常闭触点( 13 — 14 )→ KM2 线圈( 14 — 8 )→ FR1 常闭触点( 8 — 3 )→ 3 线号)。这样主电动机 M1 就 串接电阻 R 进行反接制动,正向速度很快降下来,当速度降到很低时( n ≤ 120r/min ), KS 的正向常开触点 KS-1 ( 11 — 13 )断开复位,从而切断了上述电流通路,至此正向反接制动就结束了。 ( 4 )刀架快速移动控制 转动刀架手柄,限位开关 SQ ( 5 — 19 )被压动而闭合,使得快速移动接触器 KM5 线圈得电,快速移动电动机 M3 就起动运转,而当刀架手柄复位时, M3 随即停转。 ( 5 )冷却泵控制 按 SB6 ( 16 — 17 )按钮→ KM4 接触器线圈得电并自锁→ KM4 主触点闭合→冷却泵电动机 M2 起动运转;按下 SB5 ( 5 — 16 )→ KM4 接触器线圈失电→ M2 停转。 ◇车床电气控制线路的特点 ( 1 )主轴的正反转是通过电气方式,而不是通过机械方式实现的。 ( 2 )主电动机的制动采用了电气反接制动形式,并用速度继电器进行控制。 ( 3 )控制回路由于电器元件很多,故通过控制变压器 TC 与三相电网进行电隔离,提高了操作和维修时的安全性。 ( 4 )采用时间继电器 KT 对电流表 PA 进行保护。 ( 5 )中间继电器 KA 起着扩展接触器 KM3 触点的作用。 |