车床的主要结构与运动分析
时间:2023-03-15来源:佚名
|
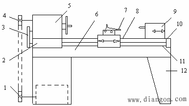
下图所示为 C650 卧式车床结构示意图。它主要由床身、主轴变速箱、尾座进给箱、丝杠、光杠、刀架和溜板箱等组成。 主运动:卡盘或顶尖带动工件的旋转运动; 进给运动:溜板带动刀架的纵向或横向直线运动; 辅助运动:刀架的快速进给与快速退回。 车床的调速采用变速箱。
图 C650 卧式车床结构示意图 1 、 4 -带轮 2 -进给箱 3 -挂轮架 5 -主轴箱 6 -床身
|
|
下图所示为 C650 卧式车床结构示意图。它主要由床身、主轴变速箱、尾座进给箱、丝杠、光杠、刀架和溜板箱等组成。 主运动:卡盘或顶尖带动工件的旋转运动; 进给运动:溜板带动刀架的纵向或横向直线运动; 辅助运动:刀架的快速进给与快速退回。 车床的调速采用变速箱。
图 C650 卧式车床结构示意图 1 、 4 -带轮 2 -进给箱 3 -挂轮架 5 -主轴箱 6 -床身
|







