行程开关结构与选用
时间:2023-03-15来源:佚名
|
行程开关又称限位开关,工作原理与按钮相类似,不同的是行程开关触头动作不靠手工操作,而是利用机械运动部件的碰撞使触头动作,从而将机械信号转换为电信号,再通过其他电器间接控制机床运动部件的行程、运动方向或进行限位保护等。
直动式行程开关结构见图,当运动机械的挡铁撞到行程开关的顶杆1时,顶杆受压触动使常闭触头3断开,常开触头5闭合;顶杆上的挡铁移走后,顶杆在弹簧2作用下复位,各触头回至原始通断状态。
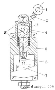
旋转式行程开关结构见图,当运动机械的挡铁撞到行程开关的滚轮1时,行程开关的杠杆2连同转轴3、凸轮4一起转动,凸轮将撞块5压下,当撞块被压至一定位置时便推动微动开关7动作,使常闭触头断开,常开触头闭合;当滚轮上的挡铁移走后,复位弹簧8就使行程开关各部件恢复到原始位置。
行程开关图形文字符号见图。
行程开关选用 |










