转塔冲床降低噪音的四个方法你知道吗?
时间:2021-07-03来源:佚名
|
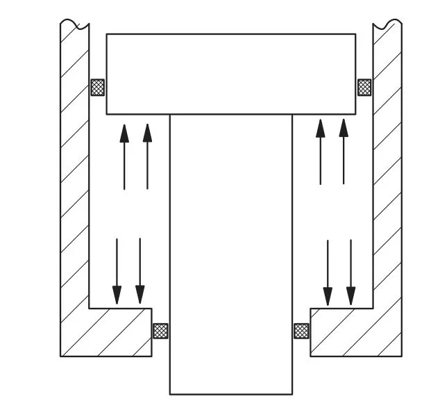
数控转塔冲床是数控冲床的主要类别之一,广泛用于机械、电器、仪表、筛网、五金、各类金属盘、箱、柜等行业的冲压加工,利用单次冲裁方式和步冲冲裁方式冲出各种形状、尺寸的孔和零件,特别适用于多品种的中、小批量或单件的板材冲压。 那么我们应该如何使它工作时降低噪音呢?下面就一起来看看吧! 一、施加预冲裁力 冲床在冲裁板材前,传动机构的间隙如图1(a)所示,如果在滑块下端施加一个作用力,将传动机构的间隙调整到图1(b)所示状态,将很好的避免冲裁瞬间传动机构间隙产生的噪声。 常用的作用力施加方式如图2所示,在滑块下端设计一个气缸,内通高压气体,高压气作用于滑块上的作用力要大于滑块自身的惯性力,才能使连杆上的拉伸应力转变为压缩应力,传动机构间隙达到图1(b)状态。 板料断裂瞬间,机身能量释放会造成传动机构间隙二次冲击,高压气的作用类似于阻尼弹簧,能够减小二次冲击力,传动机构的质量越小,其惯性力越小,二次冲击力也越小。单从降低噪声角度而言,气压越高越好,但气压过高,势必分担一部分电机扭矩,冲床的许用冲裁力减小,因此高压气的气压选择应结合冲床的冲裁力进行裁定。 ![]() 图1 冲裁前后间隙变化示意图 ![]() 图2 气缸作用滑块示意图 二、减小机身储存能量 冲床冲裁板材过程中,板材断裂前,机身储存一定的变形能,储存能量的大小与机身的刚度有关,定义机身上横梁刚度为k1,立柱刚度为k2,板材对冲床的作用力为p,机身的刚度k=k1k2/(k1 k2),机身储存的能量Q=p2/2k。由此可看出,在冲裁力不变的情况下,机身储存的能量与其刚度成反比,机身刚度越大,冲裁过程中其变形量越小,储存的能量越少,机身的振动噪声及传动机构间隙的二次冲击噪声越小。 三、减振垫能量转换 在机身与地基间装配减振垫,通过减振垫,在冲床冲裁板材过程中,保证机身的加速度方向向上,进而减小机身上横梁吸收的变形能;在板材断裂瞬间,将机身储存的变形能转换为机身的整体运动,减小机身内部振动,进而达到降低冲床噪声目的。 四、改变运动副连接方式 与球头式连接机构相比,柱销式连接机构虽然加工容易,装配方便,但其装配间隙较大,且运动副间的接触面积小,相同的冲击力情况下,球头的接触面积更大,对应的冲击噪声也较小。 |








