摆动式单面研磨机
|
摆动式单面研磨机基本市场分析 摆动式单面研磨机目前在国内市场的使用率不高,很多厂家主要是使用双面研磨机,不过这也要看厂家的需求了,有的厂家还是需要单面研磨机设备;我公司生产研磨机规格较多,不仅仅是双面研磨机,还有单面研磨机,砂轮,研磨盘我们也都有涉及。
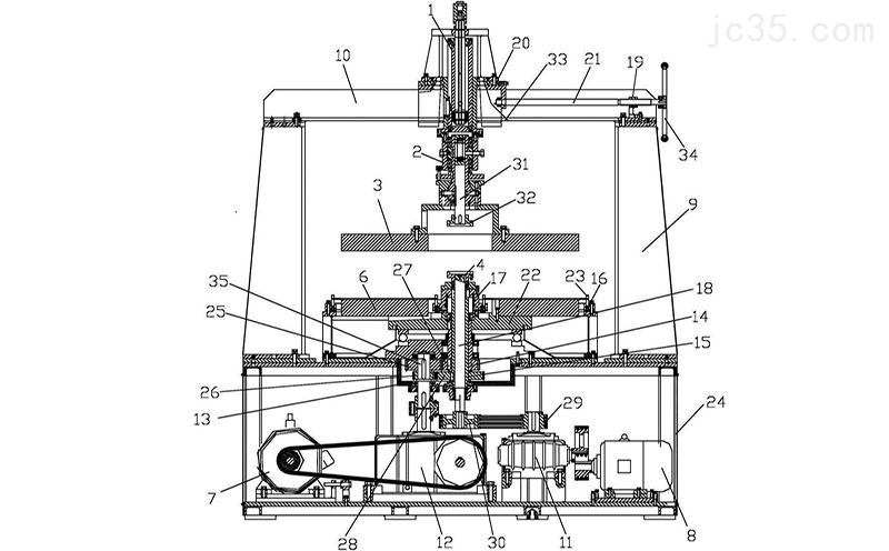
摆动式单面研磨机结构阐述 摆动式研磨机包括由主体围绕的驱动马达以及与所述驱动马达协作的传动轴。 单面研磨机内的传动轴具有构成用于研磨制品的支撑件的研磨头;传动轴是分体式的,包括主轴和刚性地设置到其上的偏心轴。
偏心轴包括与主轴的相应中心线成一个角度(α)的中心线,由此所述研磨头将相对与主轴偏心设置;研磨头被设置成在通过主轴的旋转以及偏心轴相对于主轴的偏心距和倾角所形成的大致球面中摆动。
摆动式单面研磨机主要特点 1、摆动式单面研磨机造型及内部结构充分考虑了操作和维修的方便性; 2、单臂摆动式研磨机的主机采用变频调速电机驱动,配置大功率减速系统,软启动、软停止,运转平稳;
3、单面研磨盘的平面度可以通过修整齿轮自动修正,研磨量由文本显示器计时控制,电机变频调速,启停平稳,并能选择理想的磨削速度; 4、研磨盘内的游星轮轮可以正反方向转动,游星轮自转方向可以改变,工件在载体内作既公转且自转的游星运动; 5、单面研磨机采用了自动供给研磨液装置,采用平面加压形式,在开放式设备上配备了加压气缸,研磨压力分轻、重、轻可随意调节压力,易于精密研磨。
摆动式单面研磨机结构原理 单面研磨机在研磨抛光过程中,原传动组件为了实现加工盘的升降、加压、旋转及上盘自适应平衡四个功能。 摆动式单面研磨机采用内外共三层套合轴的方式进行传动,后期为满足上盘的恒温要求又在中心轴与上盘间增加过渡用的旋转流体轴。
此摆动式单面研磨机的传动组件结构复杂,三层轴装配困难且最细中心轴既要承受压力又要传递旋转扭矩,中心轴很容易过载导致发热甚至是扭曲;旋转流体轴在实际使用过程中传扭不可靠,还很容易因为轴的精度及大扭矩转动引起流体分流。
|








