双面研磨机工作原理
|
河南新乡市立式双面研磨机厂家首要用于石英晶体片、硅、锗片、玻璃、陶瓷片、活塞环、阀片、挂钟玻璃、铅、铁、硼、钼片、蓝宝石、铁氧体、铌酸锂、DTC等;如需双面研磨机报价或选型,请提供技术参数或型号;各种片状金属、非金属材料的平面研磨和抛光;
抱负平面的精细加工是机械加工的一大难题,跟着科学技术的不断发展,特别是精细机械工业的发展,可靠性、高效率、高精度的平面加工显得尤为杰出;何况在磨削加工件时,研磨盘一起在随磨削损耗而改变;为您总结下新乡双面研磨机工作原理。 平面研磨机工作原理平面研磨机在平面磨床上,选用电磁吸盘作业台吸住工件,当线圈中通过直流电时,芯体被磁化,磁力线通过盖板、工件、盖板、吸盘体而闭合,工件被吸住;电磁吸盘作业台的绝磁层有铅、铜或巴合金等非磁性材料制成、它的作用是使绝大部分磁力线都通过工件磨削零件;磨床能加工硬度较高的材料,如淬硬钢、硬质合金等;也能加工脆性材料,如玻璃、花岗石;磨床能作高精度和表面粗糙度很小的磨削,也能进行高效率的磨削,如强力磨削等。
双面研磨机视频 双面研磨机特点1、双面研磨机厂家上主轴的升降留意方向和速度,速度能够恣意调理;上主轴设有防止断气时下掉功能,以保证人身和设备安全; 2、研磨作业调速,有变频器完成调速; 随机配有修正轮,用于修正上下研磨盘的平行误差; 3、通过上、下研磨盘、太阳轮、游星轮在加工时形成四个方向、速度相互协调的研磨运动,达到上下表面同时研磨的高效运作; 4、下研磨盘可升降,方便件装卸。气动太阳轮变向装置,精确控制工件两面研磨精度和速度; 5、研磨作业时刻和作业压力:依据研磨工件的需要来设定研磨作业时刻和作业压力,不同的工件与不同的资料所需要的时刻也不同。这要靠操作员摸索出来经历。
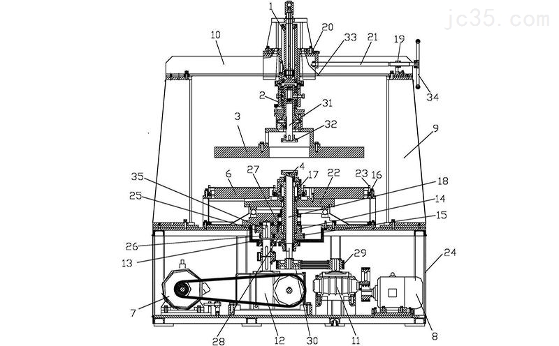
数控平面研磨机结构图
|







