电动势的概念,电动势的基本知识
|
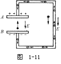
有关电动势的概念,分享电荷持续不断地定向流通的原因,从而理解电路中电动势的概念,能把正电荷从低电位搬运到高电位的设备称为电源,电势的单位显然与电压、电位的单位一样也是伏特。 电动势是什么以手电筒为例,它是由电池、小灯泡和导体组成的电路,如图1-10,当把开关合上后小灯泡亮。这说明电路中有持续不断的电流流过灯泡。通过这种最简单的电路,说明电荷持续不断地定向流通的原因,从而理解电路中电动势的概念。 如图1-11所示的电容器,如先使a、 b两极板分别带有正负电荷,在两极板间就形成了电场, ab两极板间形成电位差,这一过程称为充电。 显然, a极板的电位高于b极板。如果用导线将电容器ab两极板联接起来,由于ab两极板正负电荷的作用使导线中形成了电场,导线中的自由电子在电场力的作用下遂由低电位的b极板向高电位的a极板移动,电容器开始放电,形成了如图1-11所示与电子运动相反方向的电流。 这样在图1-11的电路中,正电荷由高电位的a极板经由导线移向低电位的b极板,其结果是使异性电荷相互中和,两极板上的电量随着放电的进行而逐渐消失,电位差也逐渐减低,一直到两极板上电荷都中和完了,电位差降到零为止。极板间和导线内也就不存在电场,电子就会停止流动,电流为零。
为了使正电荷在导线中能持续不断地定向运动,就要将正电荷从低电位的b极板经由极板间不断地搬移到高电位的a极板如图1-11,使保持两极板上原来的正负电荷量不变,即保持两极板间原有的电位差,这样就可使导线中有电荷持续不断地流通了。要做到这一点,必须要有一外力能将正电荷逆着电场方向由b极板(低电位)搬运到a极板(高电位)。 能把正电荷从低电位搬运到高电位的设备称为电源。电源内部具有能把正电荷从低电压搬到高电位的外力,这种外力就称为电源力。 将正电荷从高电位移向低电位,也就是电流从高电位流向低电位,是电场力作功。如果负载是小灯泡,则灯泡中就有电流流通而使灯丝灼热而发光,使电能变为热能和光能。电源力使正电荷在内部由低电位移向高电位,也就是电流从低电位流向高电位,这是电源力在作功而变为电能。如电源是电池,则为化学能变为电能;如电源是发电机,则为机械能变为电能。整个电路中电流流通的动力来源于电源内部的电源力,而整个电路中所消耗的全部能量,则为电源内部电源力搬移电荷所作的功。 日常使用手电筒的小灯泡和照明用的大灯泡,其发光的物理过程都是一样的,都是定向电荷运动造成灯丝灼热而发光。可是小灯泡不如大灯泡亮,这说明电源力作功的本领并不一样。 为了衡量电源力做功的大小,这里引进一个新的物理量——电动势。如果电源力搬移电荷量q所作的功为ad,则将ad与电量q之比值,称为电源的电动势(简称电势),用符号e表示。
电势的单位显然与电压、电位的单位一样也是伏特(v)。电势e在数值上等于电源力将一个单位电量的正电荷从电源负极移到电源正极所作的功。电势的方向规定为经由电源内部由负极(低电位)指向正极(高电位),在电路图中的符号如图1-12所示。
本章所讨论的电源,其电势都不随时间而变化,即具有恒定不变的电势,称为直流电源。电池就是最常用的直流电源。普通干电池的电势为1.5伏,而铅蓄电池的电势约为2伏。 电势的大小及方向随时间变化的电源称为交流电源。经常使用的照明用电就是交流电源的一种。 |









