电缆头的类型与电缆头的制作方法图解
|
电缆头的类型与电缆头的制作方法 电缆头分为连接两条电缆的中间接头和电缆终端的封端头,现以环氧树脂电缆接头加以说明它的制作方法。 制作室内环氧树脂终端头,首先剥切钢带、割去黄麻、焊接地线。 按设备的接线位置量取所需的长度,剥切电缆包皮前,将喇叭口位置确定好,然后将该处向下30mm 用钢丝刷打毛,随即用塑料带包扎一层。 用蘸汽油的抹布将预制终端头的外壳内壁擦净,将它套入电缆钢带上,用干净纱布塞满,以防污物落入,然后将电缆包皮剥去,扩张喇叭口。 剥去统包绝缘纸,分开线芯,在喇叭口向上30mm 处一段统包绝缘纸上用 白纱带临时包扎好,以防沾污,将线芯小心分开,用汽油将电缆油擦干净。 剥除线芯端部绝缘,长度为接线端子的孔深加5mm,套上耐油橡胶管,压接接线端子,再用无碱玻璃丝带包缠。 装上环氧树脂外壳,浇注环氧树脂复合物,然后用黄蜡带包绕两层。如图所示。
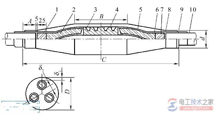
1—铅(铝)包;2—铅(铝)包表面涂层;3—半导体纸;4—统包纸;5—线芯涂包层;6—线芯绝缘;7—压接管涂包层;8—压接管;9—三叉口涂包层;10—统包涂包层 制作环氧树脂电缆中间接头如图所示。 先按模具尺寸量出剥切铅包层的尺寸,锯钢带、剖铝包、胀喇叭口和剥切绝缘。 胀好喇叭口后先在统包绝缘纸上用聚氯乙烯带包缠保护,分开线芯,用布擦净。 按照连接管的长度剥切每根线芯端部绝缘,然后把线芯压接。 压接后的表面用钢丝刷毛、汽油洗净,拆去各线芯上的统包和铝包的临时包带,在每根线芯和统包层上顺原绝缘纸方向缠一层无碱玻璃丝带,再用环氧树脂和统包层进行涂包。 安装涂有脱膜剂的铁皮模具,灌注环氧树脂复合物,待固化后拆除模具,最后在中间接头两端铝包及钢带上用多股铜线连接焊牢在接地线上。 |









