高低速电机接线图原理解析
时间:2022-12-11来源:佚名
|
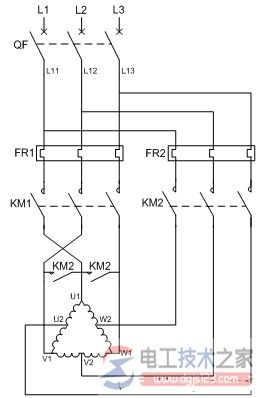
有关高低速电机的接线图,高低速是通过改变电机的极对数达到三相电机调速的目的,双速电动机属于异步电动机变极调速,通过改变定子绕组的连接方法,改变定子旋转磁场磁极对数,从而改变电动机的转速。 接线图如下:
左图:低速时,右图:高速时 |
|
有关高低速电机的接线图,高低速是通过改变电机的极对数达到三相电机调速的目的,双速电动机属于异步电动机变极调速,通过改变定子绕组的连接方法,改变定子旋转磁场磁极对数,从而改变电动机的转速。 接线图如下:
左图:低速时,右图:高速时 |







