双速风机接线图_双速电机接线原理图
|
有关双速风机的接线图,双速电机接线原理图,单速风机接线方法,双速风机的控制原理,并介绍了双速电机接线图的接线问题,以及交流双速电机的接线图示例。 双速风机接线图1、单速风机接线方法 一般情况下,所配电机功率在4KW以下为Y接法;4KW以上(含)为△解法。 接线图如下:
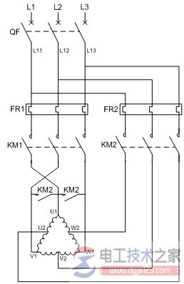
2、双速风机控制原理: 双速风机所配双速电机其定子绕组为△/YY(或Y/YY)接法,调速基本原理通过改变电机定子绕组间的连接方式,使其改变极数以达到调速目的,低速工作时为△(或Y)方式,高速工作时为YY方式。 风机电控箱所配的断路器、保护装置及其他电器元件,必须按风机额定容量正确合理选配。 接线图:
二、双速电机接线原理图
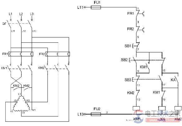
接触器控制的双速电动机电气原理图 1、双速电动机 双速电动机属于异步电动机变极调速,是通过改变定子绕组的连接方法达到改变定子旋转磁场磁极对数,从而改变电动机的转速。 根据公式;n1=60f/p可知异步电动机的同步转速与磁极对数成反比,磁极对数增加一倍,同步转速n1下降至原转速的一半,电动机额定转速n也将下降近似一半,所以改变磁极对数可以达到改变电动机转速的目的。这种调速方法是有级的,不能平滑调速,而且只适用于鼠笼式电动机。 此图介绍为最常见的单绕组双速电动机,转速比等于磁极倍数比,如2极/4极、4级/8极,从定子绕组△接法变为YY接法,磁极对数从p=2变为p=1。 ∴转速比=2/1=2 2、控制电路分析 1)合上空气开关QF引入三相电源 2)按下起动按钮SB2,交流接触器KM1线圈回路通电并自锁,KM1主触头闭合,为电动机引进三相电源,L1接U1、L2接V1、L3接W1;U2、V2、W2悬空。电动机在△接法下运行,此时电动机p=2、n1=1500转/分。 3)若想转为高速运转,则按SB3按钮,SB3的常闭触点断开使接触器KM1线圈断电,KM1主触头断开使U1、V1、W1与三相电源L1、L2、L3脱离。其辅助常闭触头恢复为闭合,为KM2线圈回路通电准备。 同时接触器KM2线圈回路通电并自锁,其常开触点闭合,将定子绕组三个首端U1、V1、W1连在一起,并把三相电源L1、L2、L3引入接U2、V2、W2,此时电动机在YY接法下运行,这时电动机p=1,n1=3000转/分。KM2的辅助常开触点断开,防KM1误动。 4)、FR1、FR2分别为电动机△运行和YY运行的过载保护元件。 5)、此控制回路中SB2的常开触点与KM1线圈串联,SB2的常闭触点与KM2线圈串联,同样SB3按钮的常闭触点与KM1线圈串联,SB3的常开于KM2线圈串联,这种控制就是按钮的互锁控制,保证△与YY两种接法不可能同时出现,同时KM2辅助常闭触点接入KM1线圈回路,KM1辅助常闭触点接入KM2线圈回路,也形成互锁控制。 3、定子接线图
低速时绕组的接法 高速时绕组的接法
三、双速电动机接线图 双速电动机的定子绕组的联接方式常有两种:一种是绕组从三角形改成双星形,如下图 (a)所示的连接方式转换成如图(c)所示的连接方式,另一种是绕组从单星形改成双星形,如图(b)所示的连接方式转换成如图(c)所示的连接方式,这两种接法都能使电动机产生的磁极对数减少一半即电动机的转速提高一倍。
双速电动机的定子绕组的接线图 下图是双速电动机三角形变双星形的控制原理图,当按下起动按钮SB2,主电路接触器KMl的主触头闭合,电动机三角形连接,电动机以低速运转;同时KA的常开触头闭合使时间继电器线圈带电,经过一段时间(时间继电器的整定时间),KMl的主触头断开,KM2、KM3的主触头闭合,电动机的定子绕组由三角形变双星形,电动机以高速运转。
双速电动机的控制原理图 线路工作原理分析:
变极调速的优点是设备简单,运行可靠,既可适用于恒转矩调速(Y/YY),也可适用于近似恒功率调速(△/YY)。其缺点是转速只能成倍变化,为有极调速。Y/YY变极调速应用于起重电葫芦、运输传送带等;△/YY变极调速应用于各种机床的粗加工和精加工。 双速电动机的最常用接线方式有两种: 1、绕组从单星形改接成双星形,如下图(左)所示。当用这种接线方式时,电动机由Y接改为YY连接,每相的绕组均由串联改为并联,这样使磁极对数较少了一般。利用这种换接法,电动机在变极调速后,其额定转矩基本上保持不变,所以适合与拖动恒转矩性质的负载,力图起重机和皮带传输机等。
2、绕组从三角形改成双星形(Y形),如上图(右)所示三角形改为双星形,也使磁极对数减小一半,而得到调速效果。这种变极调速后,电动机的额定功率基本上不变,但是额定转矩几乎要减小一半,所以这种接法适合用于拖动恒功率性质的负载,如各种金属切削机床。 当利用磁极对数的变换对三相异步电动机进行调速时,由于改接后绕组旋转磁场的旋转方向不会改变,在改变极数时,应把接到电动机进线端子上的电源的相序变一下。 如果定子上装有两套独立的三相绕组,其中一套绕组可以用以上换接法产生两种磁极对数,那么就可以得到三种同步转速,例如750/100/1500转/分,或1000/1500/3000转/分,这种电动机称为三速电动机。同理,也可以通过不同的绕组换接获得多种速度,职称多速电动机。 接触器控制的双速电动机接线图
双速电机双星接线图
四、双速电机接线图的接线问题 是否可以让电动机U1 V1 W1 U2 V2 W2的六个端子,直接接前三个实现低档转速,接后三个实现快档转速? 回答: 先接3个端子,如果能够正常运转,则是低速。 如果不能正常运转,须将另外3个端子短接,此时为高速。 五、交流双速电机接线图
|

























