对夹式高压止回阀安装事项
|
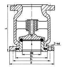
对夹式高压止回阀使用及安装注意事项 对夹式高压止回阀产品结构特点: 1、结构长度短,其结构长度只有传统法兰止回阀的1/4~1/8 2、体积小、重量轻、其重量只有传统法兰止回阀的1/4~1/20 3、阀瓣关闭快速,水锤压力小 4、水平或垂直管道均可使用,安装方便 5、流道通畅、流体阻力小 6、动作灵敏、密封性能好 7、阀瓣行程短、关阀冲击力小 8、整体结构、简单紧凑、造型美观 9、使用寿命长、可靠性高
1. 在管线中不要使止回阀承受重量,大型的止回阀应独立支撑,使之不受管系产生的压力的影响; 2. 安装时注意介质流动的方向应与阀体所票箭头方向*; 3. 旋启式止回阀应安装在垂直管道上同时也可安装于水平管道; 4. 升降式止回阀应安装在水平管道上;
主要零部件材料: 零件名称 材料名称用标准牌号 材料名称用标准牌号 阀体 合金钢 GB3077-88 40Cr 尿素级不锈钢 GB1220-92 00Cr17Ni14Mo2 阀座、阀瓣 不锈钢 GB1220-92 2Cr13 尿素级不锈钢 GB1220-92 00Cr17Ni14Mo2 透镜垫 优质碳钢 GB699-88 20 尿素级不锈钢 GB1220-92 00Cr17Ni14Mo2 法兰 优质碳钢 GB699-88 35 优质碳素钢 GB699-88 35 双头螺栓 优质碳钢 GB699-88 40 优质碳钢 GB699-88 40 螺母 优质碳钢 GB699-88 25 优质碳钢 GB699-88 25 弹簧 弹簧钢 GB1222-84 65Mn 尿素级不锈钢 GB1220-92 00CR17Ni10Mo2 O 型密封圈 四氟乙烯 日华尔卡 7010 四氟乙烯 日华尔卡 7010 |






