简单监听器电路图:盲人驻波监听器与小型监听电路图
时间:2022-12-12来源:佚名
|
分享三个监听电路图,来了解下监听器的工作原理,这三个监听电路图分别是盲人驻波监听器、小型监听电路图、电话监听器电路图,一起来学习下。 三个监听器电路图1、盲人驻波监听器 如图:
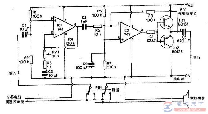
驻波比监听器电路是专为盲人业余无线电爱好者设计,帮助盲人根据声音来检查传输线的驻波比,并尽力把源阻抗与负载阻抗调整到完全匹配。 图中黑粗线是两条6*70mm的薄金属条彼此相距1.5mm,这两条金属条的感抗使得传输线的高频能量,可以传输给图下方的简单监听器。 被整流后的高频能量改变了晶体管的BG1基极上的偏压,使得所产生的声音频率随电压的增加而增加。 按照图中所给出的原件数值,在高频信号时,声音频率约为500H。 根据音调的不断升高,可以把发射机输出调到最大,而更加音调的逐步下降,可以把天下调谐器调到驻波比最小。 如果音调升高时感到刺耳,可以加大82KΩ的电阻阻值便可降低音调。 2、小型监听电路图
3、电话监听器电路图
以上介绍了三个简单的监听器的电路图,希望对大家有所帮助。 |








