变频器多段速运行怎么设置?变频器多段速运行参数设置步骤图解
时间:2023-03-04来源:佚名
|
电动机拖动的生产机械,有时根据加工产品工艺的要求,需要先后以不同的转速运行,即多段速运行。传统技术是采用齿轮换挡的方法,但这种方法使得设备结构复杂,体积较大,故障率高,维修难度大。使用变频器则方便得多,无须增加或改造硬件设备即可实现多段速运行。 一、实现变频器多段速运行的两种方法 第一种方法称为端子控制法。这种方法首先要通过参数设置使变频器工作在端子控制的多段速运行状态,并使变频器的若干个输入端子成为多段速频率控制端,然后对相关功能参数进行设置,预置各档转速对应的工作频率,以及加速时间或减速时间。之后即可由逻辑控制电路、plc或上位机给出频率选择命令,实现多段速频率运行。 另一种方法不使用多功能输入端子,仅对相关功能参数进行设置,虽然涉及参数较多,但运行方式灵活,且可重复循环运行。为了区别前一种控制方法,称这种方式为程序控制法。 二、端子控制的多段速运行 在变频器外接输入多功能控制端子中,通过功能预置,将若干个(通常为2~4个)输入端指定为多档(3~15挡)转速控制端。转速的切换由外接的开关器件通过改变输入端子的状态及其组合来实现。转速的档次按二进制的顺序排列,所以两个输入端最多可以组合成4档转速,三个输入端最多可以组合成8档转速,四个输入端最多可以组合成16档转速。由于外接的开关触点都是断开(相当于二进制的0)状态时,无法判断是没有输入命令(输入全为0)还是输入的命令全为0,所以,通常变频器将全为0的状态视为无效。这样,4位二进制命令只能用作最多15档的多段速命令。
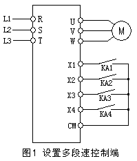
下面以CVF-G3系列变频器为例,介绍具体的操作方法。首先将功能参数b-1(频率输入通道选择)预置为“9”,即把运行频率和方式的控制权交给了“外部多功能输入端子”。接着把L-63预置为“1”, L-64预置为“2” ,L-65预置为“3” ,L-66预置为“4”;这几个参数预置的意义在于:一是确定了变频器运行在多段速方式,二是外部输入端子X1、X2、X3、X4成为多档转速输入控制端子,而且确定了X1对应着4位二进制数中的最低位,X4对应着4位二进制数中的最高位。转速的切换由指定控制端上外接开关的通断状态及其组合来实现。图1是指定了4个多段速控制端的示意图,每个继电器或者PLC触点的通断状态对应着4位二进制数中的一个位,开关闭合(on)相应位为1,开关断开(off)相应位为0。gdzrlj.com图1中4个开关均断开,即这个二进制数为0000。应注意的是,有的变频器在设置多段速运行档次时,其“0”、“1”的定义与开关状态的对应关系与此相反,具体应用应以说明书的介绍为准。开关的通断状态及其组合对应的频率(转速)档次见表1。
表1 端子开关状态与转速档次对应关系 接着预置各档转速对应的工作频率以及加速时间或减速时间。 例如,CVF-G3变频器通过L-18~L-32这15个功能参数,可分别对多段速频率1~多段速频率15进行设置,频率设定范围为0.00Hz~上限频率,各段速的运行频率可以相同,也可互不相同。 CVF-G3变频器各档转速的加减速时间参数设置见表2。
表2 CVF-G3变频器各档转速的加减速时间参数设置 关于表2中加减速时间设置的说明。多段速1~多段速7的加减速时间各使用一个参数设置,且加速时间与减速时间只能是相等的,例如都是28秒。多段速8和多段速12~多段速15这5个段速的加减速时间都使用参数b-7和b-8设置,所以,这5个段速的加减速时间是相同的,但每一个段速加速时间和减速时间可以不同。多段速9~多段速11这3个段速的加减速时间可以由参数单独设置而互不相同。 具体运行时,哪一个段速先运行,哪一个段速后运行,完全由图1中端子X1~X4上连接的触点状态决定,不一定按照段速1~段速15的顺序先后运行。 三、小结 在上述CVF-G3系列变频器中,我们通过功能参数码b-1的设置,确定了变频器的运行方式由外部多功能输入端子控制;通过L-63~L-66设置了多功能输入端子X1~X4为多档转速控制端;通过L-18~L-32这15个功能参数码预置了15档转速的运行频率;通过表2中的功能参数码预置了各档转速的加减速时间,之后即可由逻辑控制电路、PLC或上位机给出频率选择命令,控制图1中触点KA1~KA4的通断状态及其组合,实现多段速频率运行。每个段速运行时间的长短由触点KA1~KA4的状态确定,一旦状态变化,就意味着结束上一个段速而开始新一个段速的运行。 |











