电气设备的绝缘性能通常是通过测量其绝缘电阻的大小来判断。为了保证人身安全和电气设备运行的安全,对不同相导电体之间或导电体与设备外壳之间的绝缘电阻都有一个最低的要求。电力工程中,通过兆欧表来定量的测量绝缘电阻,以判断是否出现绝缘问题,存在安全隐患。 1、绝缘电阻要求 室内低压电气线路中对绝缘电阻的要求是:相线对大地或对中性线之间不应小于0.22MΩ,相线与相线之间不应小于0.38 MΩ。 对家用电器则规定:基本绝缘电阻为2MΩ,加强绝缘电阻为7 MΩ。对低压电机规定应不低于0.5 MΩ,对高压电机规定每千伏工作电压不低于1 MΩ。 总结:绝缘电阻越大越好。 2、兆欧表的结构 兆欧表是一种专门用来测量电气设备绝缘电阻的便携式仪表。一般的兆欧表主要由手摇直流发电机、磁电系比率表以及测量线路组成。
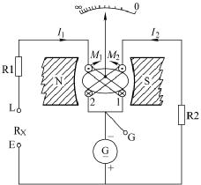
 工作原理:将被测电阻RX接入端钮“线路L”和“接地E”之间,这时手摇直流发电机手柄,电流将分为两个回路流动:其中的电流I1从发电机正极→RX→R1→线圈1→发电机负极;电流I2从发电机正极→R2→线圈2→发电机负极。 由于线圈1和线圈2的绕向相反,故转动力矩M1和反作用力矩M2的方向相反。当M1=M2时,
 仪表可动部分的偏转角α与两个线圈内所通入电流的比值有关,而与测量电路中的电源电压无关。因此,兆欧表的核心又称为“磁电系流比表”。一旦仪表的结构确定时,则R1、R2均为定值,此时,仪表可动部分的偏转角α只与被测电阻RX的大小有关。由于I2的大小一般不变,偏转角α而随被测绝缘电阻Rx的改变而变化,所以能直接反映被测绝缘电阻的数值。且兆欧表的标度尺为反向刻度。
 3、兆欧表的选择、使用与维护 选择兆欧表。选择兆欧表的原则:一是其额定电压一定要与被测电气设备或线路的工作电压相适应。二是兆欧表的测量范围要与被测绝缘电阻的范围相符合,以免引起大的读数误差。 兆欧表的检查。使用兆欧表时应放在平稳、牢固,且远离带大电流的导体和外磁场强的地方。使用兆欧表之前,要先通过开路试验和短路试验来检查兆欧表的好坏。 切断电源,并进行放电,进行表面处理。为保证人身和设备的安全,测量前必须将被测设备电源切断,并对地短路放电,绝不允许设备带电进行测量。 对含有大电容的设备,测量前应先进行放电,测量后也应及时放电,放电时间不得小于2min,以保证将电放完。gdzrlj.com 测量前,应将被测电气设备和兆欧表的测量处擦拭干净,并保持被测物表面的清洁,尽量减少接触电阻,确保测量结果的准确性。 兆欧表的接线。兆欧表有三个接线端钮,分别标有L(线路)、E(接地)和G(屏蔽),使用时应按测量对象的不同来选用。当测量电气设备对地的绝缘电阻时,应将L接到被测设备上,E可靠接地即可。 正确测量读数。操作者一手固定兆欧表,一手摇动兆欧表手柄。摇动兆欧表手柄时应由慢渐快至额定转速120r/min。测量时,绝缘电阻值随着测量时间的长短而不同,一般采用1min以后的读数为准。
 使用注意: (1)首先选用与被测元件电压等级相适应的摇表,对于500V及以下的线路或电气设备,应使用500V或1000V的摇表。对于500V以上的线路或电气设备,应使1000V或2500V的摇表。 (2)用摇表测试高压设备的绝缘时,应由两人进行。 (3)测量前必须将被测线路或电气设备的电源全部断开,即不允许带电测绝缘电阻。并且要查明线路或电气设备上无人工作后方可进行。 (4)摇表使用的表线必须是绝缘线,且不宜采用双股绞合绝缘线,其表线的端部应有绝缘护套;摇表的线路端子“L”应接设备的被测相,接地端子“E”应接设备外壳及设备的非被测相,屏蔽端子“G”应接到保护环或电缆绝缘护层上,以减小绝缘表面泄漏电流对测量造成的误差。 (5)测量前应对摇表进行开路校检。摇表“L”端与“E”端空载时摇动摇表,其指针应指向“∞”;摇表“L”端与“E”端短接时,摇动摇表其指针应指向“0”。说明摇表功能良好,可以使用。 (6)测试前必须将被试线路或电气设备接地放电。测试线路时,必须取得对方允许后方可进行。 (7)测量时,摇动摇表手柄的速度要均匀120r/min为宜;保持稳定转速1min后,取读数,以便躲开吸收电流的影响。 (8)测试过程中两手不得同时接触两根线。 (9)测试完毕应先拆线,后停止摇动摇表。以防止电气设备向摇表反充电导致摇表损坏。 (10)雷电时,严禁测试线路绝缘。
|