如何设计一个电气控制原理电路图
时间:2023-03-05来源:佚名
|
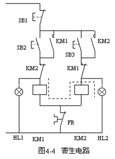
原理图线路设计是原理设计的核心内容。在总体方案确定之后,具体设计是从电器原理图开始,其他各项设计指标也是通过控制原理图来实现,同时它又是工艺设计和编制各种技术资料的依据。电气原理图设计的基本步骤如下: (1)根据选定的拖动方案及控制方式设计系统的原理框图,拟定出各部分的主要技术要求和主要技术参数。 (2)根据各部分要求设计出原理框图中各个部分的具体电路。设计的步骤为主电路、控制电路、辅助电路、联锁与保护、检查、修改与完善。 (3)绘制总原理图。按系统框图结构将各部分联成一个整体。 (4)正确选用原理线路中每一个电器元件,并制定元器件目录清单。 对于比较简单的控制线路,例如普通机械或非标准设备的电气配套设计,可以省略前两步直接进行原理图设计和选用电器元件。但对于比较复杂的自动控制线路,生产机械或者采用微机或电子控制的专用检测与控制系统,要求有程序预选和一定的加工精度、生产效率、自动显示、各种保护、故障诊断、报警等。应按上述4步骤进行设计,以保证总装调试的顺利进行。 一、电气控制原理电路的基本设计方法 电气控制原理电路设计的方法有分析设计法和逻辑设计法。 1、分析设计法 分析设计法是根据生产工艺的要求选择适当的基本控制环节(单元电路)或将比较成熟的电路按其联锁条件组合起来,并经补充和修改,将其综合成满足控制要求的完整线路。当没有现成的典型环节时,可根据控制要求边分析边设计。 优点是设计方法简单,无固定的设计程序,它容易为初学者所掌握,在电气设计中被普遍采用;gdzrlj.com版权所有。 缺点是设计出的方案不一定是最佳方案,当经验不足或考虑不周全时会影响线路工作的可靠性。 2、逻辑设计法 逻辑设计法是利用逻辑代数来进行电路设计,从生产机械的拖动要求和工艺要求出发,将控制电路中的接触器、继电器线圈的通电与断电,触点的闭合与断开,主令电器的接通与断开看成逻辑变量,根据控制要求将它们之间的关系用逻辑关系式来表达,然后再化简,做出相应的电路图。 优点是能获得理想、经济的方案。 缺点是这种方法设计难度较大,整个设计过程较复杂,还要涉及一些新概念,因此,在一般常规设计中,很少单独采用。 二、电气原理图设计的基本步骤 (l)根据确定的拖动方案和控制方式设计系统的原理框图。 (2)设计出原理框图中各个部分的具体电路。设计时按主电路、控制电路、辅助电路、联锁与保护、总体检查反复修改与完善的先后顺序进行。 (3)绘制总原理图。 (4)恰当选用电器元件,并制订元器件明细表。 三、原理图设计的一般要求 1、电气控制原理应满足工艺的要求 在设计之前必须对生产机械的工作性能、结构特点和实际加工情况有充分的了解,并在此基础上来考虑控制方式,起动、反向、制动及调速的要求,设置各种联锁及保护装置。 2、控制电路电源种类与电压数值的要求 对于比较简单的控制电路,往往直接采用交流380V或220V电源,不用控制电源变压器。对于比较复杂的控制电路,应采用控制电源变压器,将控制电压降到110V或48V、24V。对于操作比较频繁的直流电力传动的控制电路,常用220V或110V直流电源供电。直流电磁铁及电磁离合器的控制电路,常采用24V直流电源供电。 交流控制电路的电压必须是下列规定电压的一种或几种: 6V,24V,48V,110V(优选值),220V,380V,50Hz。 直流控制电路的电压必须是下列规定电压的一种或几种: 6V,12V,24V,48V,110V,220V。 3、确保电气控制电路工作的可靠性、安全性 (1)电器元件的工作要稳定可靠,符合使用环境条件,并且动作时间的配合不致引起竞争。 复杂控制电路中,在某一控制信号作用下,电路从一种稳定状态转换到另一种稳定状态,常常有几个电器元件的状态同时变化,考虑到电器元件总有一定的动作时间,对时序电路来说,就会得到几个不同的输出状态。这种现象称为电路的“竞争”。而对于开关电路,由于电器元件的释放延时作用,也会出现开关元件不按要求的逻辑功能输出的可能性,这种现象称为“冒险”。 “竞争”与“冒险”现象都将造成控制电路不能按照要求动作,当电器元件的动作时间可能影响到控制电路的动作时,需要用能精确反映元件动作时间及其互相配合的方法(如时间图法)来准确分析动作时间,从而保证电路正常工作。 (2)电器元件的线圈和触点的连接应符合国家有关标准规定 电器元件图形符号应符合GB4728中的规定,绘制时要合理安排版面。例如,主电路一般安排在左面或上面,控制电路或辅助电路排在右面或下面,元器件目录表安排在标题上方。 在实际连接时,应注意以下几点: ①正确连接电器线圈。交流电压线圈通常不能串联使用,即使是两个同型号电压线圈也不能采用串联后,接在两倍线圈额定电压的交流电源上,以免电压分配不均引起工作不可靠。 在直流控制电路中,对于电感较大的电器线圈,如电磁阀、电磁铁或直流电机励磁线圈等,不宜与同电压等级的接触器或中间继电器直接并联使用。如图,当触点KM断开时,电磁铁YA线圈两端产生较大的感应电动势,加在中间继电器KA的线圈上,造成KA的误动作。为此在YA线圈两端并联放电电阻R,并在KA支路串入KM常开触点,如图b)就能可靠工作。 ②合理安排电器元件和触点的位置。对于某些回路,电器元件或触点位置互换时,并不影响其工作原理,但在实际运行中,影响电路安全并关系到导线长短,如图a)接法既不安全又浪费导线。图b)所示的接法较为合理。 ③防止出现寄生电路。寄生电路是指在控制电路的动作过程中,意外出现不是由于误操作而产生的接通电路。图是一个具有指示灯和过载保护的电动机正反转控制电路。正常工作时,能完成正反向起动、停止与信号指示。但当FR动作断开后,电路出现了如图中虚线所示的寄生电路,使接触器KM1不能可靠释放而得不到过载保护。如果将FR触点位置移到SB1上端就可避免产生寄生电路。 ④尽量减少连接导线的数量,缩短连接导线的长度。 ⑤控制电路工作时,应尽量减少通电电器的数量,以降低故障的可能性并节约电能。 ⑥在电路中采用小容量的继电器触点来断开或接通大容量接触器线圈时,要分析触点容量的大小,若不够时,必须加大继电器容量或增加中间继电器,否则工作不可靠。 4、应具有必要的保护环节 控制电路在事故情况下,应能保证操作人员、电气设备、生产机械的安全,并能有效地制止事故的扩大。为此,在控制电路中应采取一定的保护措施,必要时还可设置相应的指示信号。gdzrlj.com版权所有。 5、操作、维修方便 控制电路应从操作与维修人员的工作出发,力求操作简单、维修方便。 6、控制电路力求简单、经济 在满足工艺要求的前提下,控制电路应力求简单、经济。尽量选用标准电气控制环节和电路,缩减电器的数量,采用标准件和尽可能选用相同型号的电器。 在电气技术中所绘制的控制线路图为原理图。绘制电气原理图时不考虑电气的实际位置和结构,但必须遵循以下原则: 1、绘制电气原理图时必须使用国家规定的电工图形符号和文字符号绘图。 2、电气控制线路由主电路(被控制负载所在电路)和控制电路(控制主电路状态)两部分组成。 3、同一电气元件的不同部分(如:接触器的触点和线圈)按功能和所接电路的不同而分别绘制在不同电路中,但必须标注相同的文字符号。 4、所有电气元件的图形符号均按没通电、无外力作用下的状态绘制。 5、在绘制电气原理图时与电路无关的电气元件部件(如接触器的铁心和弹簧等)在控制回路中不画出。 1.在设计电气控制电路时力求电路简单、电气元件少、电气动作准确可靠。2.在设计电气控制电路时应避免多个电气元件依次动作才能接通另一个电器的电路。3.必须保证每个线圈的额定电源,严禁将两个线圈串联使用。 现在的电气原理图软件五花八门,各有各的长处。普遍用的有AutoCAD Electrical、EPLAN、eleworks、SEE Electrical。电路图设计的软件的使用则在国内用protel 99se和protel 2004的最多。 AutoCAD 是最原始的,应用也是最多的,画图也很麻烦,现在有很多专业软件,国外的SEE Electrical,pcs等,国内的有天正,中望,浩辰,利驰的SuperWORKS等。 elecworks,电气元件很全,画原理图,布线图,机柜的设计,还可以和solidworks一起完成机柜的三维设计,包括元器件的插入,智能布线等。 也有工程师朋友推荐:现在电气电路图最专业的软件是德国的Eplan P8,功能非常强大,可以包含器件选型,甚至转化3D电气制造图纸。 如果是设计电气原理图,需要反复修改,建议使用Visio2003,其所带的电气图库完全满足需要,也可做自己的图库,好用易上手;如果是画电子版电气图,建议使用AutoCAD Electrical 2006或2008,非常专业的CAD作图工具,一旦掌握,可大幅提高工作效率。 |










