按钮开关分为启动开关(绿色按钮),停止按钮(红色按钮)和复合按钮(颜色不一定),其不同的功能是由内部桥式动触头的位置不同决定的。什么是桥式动触头呢?

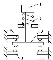
如上图,其中1是按钮,就是我们上文所说的绿色红色等颜色;2是弹簧,是按钮开关必须配合接触器使用的关键;3就是桥式动触头;4,5是静触头。
2弹簧的特性大家都清楚,最大的特点就是没有外力挤压的时候,会自动复位。这样一来就会发生一种情况——按压1按钮时,会挤压2弹簧,使得3动触头向下移动;松开1按钮时,2弹簧会自动复位,带动3动触头向上移动。这样一来,就出现了启动按钮和停止按钮。
启动按钮
没有4静触头,只有5静触头。这样一来, 当2弹簧压缩时,3动触头会与5静触头接触,形成通路;松开后,2弹簧自动复位,3动触头与5静触头断开,形成断路。这种按钮的接线柱,就是5静触头的两侧,共两个接线柱。
这样一来,就有了启动按钮的特性:按下按钮时,电路通电,松开按钮后,电路断电。即不操作时,按钮属于常开状态。启动按钮在电路图中的图形符号如下:

停止按钮
没有5静触头, 只有4静触头。这样一来,当2弹簧压缩时,3动触头会与4静触头分离, 形成断路;松开后,2弹簧自动复位,3动触头与4静触头接触,形成通路。这种按钮的接线柱,就是4静触头的两侧,共两个接线柱。
这样一来,就有了停止按钮的特性:按下按钮时,电路断电,松开按钮后,电路通电。即不操作时,按钮属于常闭状态。停止按钮在电路图中的图形符号如下:

复合按钮
就是所谓的机械互锁,它是把停止按钮和启动按钮结合在一起了,因此叫“复合”。其内部结构与讲解用图完全相同,即4静触头和5静触头同时存在。这样一来,当2弹簧压缩时,3动触头会与4静触头分离,同时与5静触头接触,使4静触头两端的接线柱形成断路,使5静触头两端的接线柱形成通路;松开后反之。
这种按钮在4静触头和5静触头两侧各有两个接线柱,共4个接线柱。在连接时,可以将4个接线柱接入两个回路中,使这两个回路形成机械互锁;亦可从4个接线柱中选择需要的两个接线柱连接,使之成为启动按钮或停止按钮。
复合按钮在电路图中的图形符号如下:
