自动判别三极管管脚、类型电路设计
|
在电子技术中,三极管是使用极其普遍的一种元器件,三级管的参数与许多电参量的测量方案、测量结果都有十分密切的关系,因此,在电子设计中,三极管的管脚、类型的判断和测量非常重要。测量三极管管脚的方法有多种,其中实验室常用的是利用万用表和三极管各管脚的特点进行测量,但由于三极管各个引脚间的电压、电流关系复杂,且三极管本身体积较小,给测量带来很大不便,而目前市场上还没有对三极管管脚、类型自动判别的装置。因此,设计出一款能够自动判别三极管管脚、类型的电路显得尤为重要。
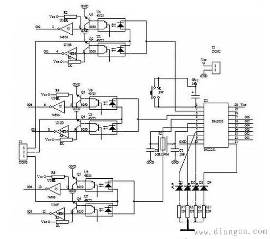
首先由单片机的P3.0~P3.2口送出三位二进制码(高低不同的电平),分别送至三极管的1、2、3号引脚。对于不同的三极管,在单片机送出不同的编码时,其1、2、3号引脚上的电流方向不同,有流入和流出两种情况,用两只光电耦合器反向并联来检测哪个方向上有电流通过,此时三位二进制码变成六位二进制码。将检测到的来自光电耦合器的电信号进行放大,由于此时输出的信号并非标准的高低电平,不能直接被单片机识别,相位也不符合要求,故加一级反相器CD4069进行反相,然后将反相器输出的标准的六位二进制码送至单片机的P1.0~P1.5口。单片机根据从P1口读出的数据与单片机内部预先写入的数据进行比较,当满足相应的条件时从P3.3~P3.7口输出检测结果,最后用发光二极管来显示对应的三极管类型。
对应的程序为:
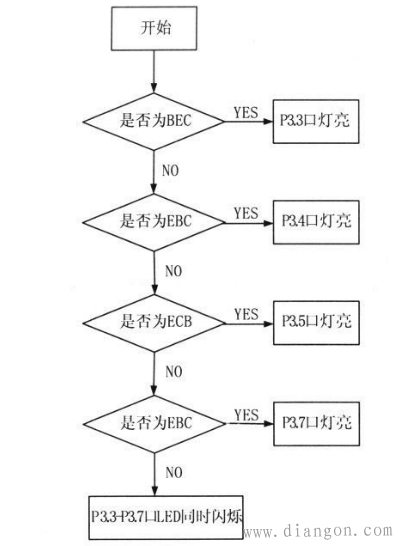
图4所示为制作的PCB板图,实物制作成功后,取一只三极管,将管脚按1、2、3顺序插入产品的测试孔中,保证接触良好,然后按下电源键,系统自动复位后运行,由LED指示出所测三极管对应的管型和管脚。LED灯的顺序与管脚管型是一一对应的,若左边第一只LED灯亮则所测三极管为NPN型,管脚排列顺序为BEC;若左边第二只LED灯亮则所测三极管为PNP型,管脚排列顺序为EBC;若左边第三只LED灯亮则所测三极管为NPN型,管脚排列顺序为ECB;若左边第四只LED灯亮则所测三极管为NPN型,管脚排列顺序为EBC;若四只LED灯同时闪烁则可能是被测三极管已坏或有引脚接触不良,单片机中未写该管型对应的程序。
在制作实物的过程中,可以从左至右依次在LED灯的一侧标明所对应的管脚和类型,也可以用不同颜色的LED灯来显示不同的管脚和管型。 |








