三个开关控制一个灯电路图
时间:2023-03-09来源:佚名
|
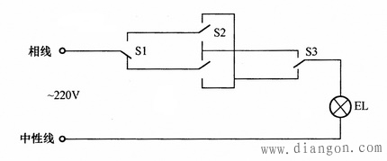
在日常生活中,经常需要用到多个开关来控制一盏灯,如下图所示,是用三个开关在三个地方控制一盏灯的电路图。图中开关S1、S3为单刀双掷开关,S2为双刀双掷开关,无论电路的初始状态是怎样的,只要搬动任意一至开关,都能够控制灯泡。 ![]() 三地控制一盏灯电路图解 此电路具有线路简单,成本低的优点,可适用于大型厂房、仓库和楼梯口等地的照明。但是该电路没有失电压保护功能。 |
|
在日常生活中,经常需要用到多个开关来控制一盏灯,如下图所示,是用三个开关在三个地方控制一盏灯的电路图。图中开关S1、S3为单刀双掷开关,S2为双刀双掷开关,无论电路的初始状态是怎样的,只要搬动任意一至开关,都能够控制灯泡。 ![]() 三地控制一盏灯电路图解 此电路具有线路简单,成本低的优点,可适用于大型厂房、仓库和楼梯口等地的照明。但是该电路没有失电压保护功能。 |









