压力检测仪表的校准
|
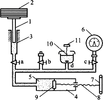
压力检测仪表在出厂前均需经过校准,使之符合精度等级要求;使用中的仪表会因弹性元件疲劳、传动机构磨损及腐蚀、电子元器件的老化等造成误差,所以必须定期进行校准,以保证测量结果有足够的准确度;另外,新的仪表在安装使用前,为防止运输过程中由于振动或碰撞所造成的误差,也应对新仪表进行校准,以保证仪表示值的可靠性。 (1)静态校准 压力检测仪表的静态校准是在静态标准条件下(温度20±50℃,湿度≤80%,大气压力为(1.01×105±1.06×104)Pa(760±80mmHg),且无振动冲击的环境),采用一定标准等级的校准设备,对仪表重复(不少于3次)进行全量程逐级加载和卸载测试,获得各次校准数据,以确定仪表的静态基本性能指标和精度的过程。 ①校准方法 校准方法通常有两种:一种是将被校表与标准表的示值在相同条件下进行比较;另一种是将被校表的示值与标准压力比较。无论是压力表还是压力传感器、变送器,均可采用上述两种方法。一般在被校表的测量范围内,均匀地选择至少5个以上的校验点,其中应包括起始点和终点。 标准仪表的选择原则是:标准表的允许绝对误差应小于被校表的允许绝对误差的1/3~1/5,这样可忽略标准表的误差,将其示值作为真实压力。采用此种校验方法比较方便,所以实际校验中应用较多。将被校表示值与标准压力比较的方法主要用于校验0.2级以上的精密压力表,亦可用于校验各种工业用压力表。 ②压力校准仪器 常用的压力校准仪器有液柱式压力计、活塞式压力计或配有高精度标准表的压力校验泵。 图1为活塞式压力校准系统的结构原理。由图中可见,测量活塞以及砝码的重力与螺旋压力发生器共同作用于密闭系统内的工作液体(一般采用洁净的变压器油或蓖麻油等),当系统内工作液体的压力与此重力相平衡时,测量活塞l将被顶起而稳定在活塞筒3内的任一平衡位置上。这时有压力平衡关系
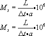
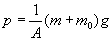
图1 活塞式压力校准系统的结构原理 在承重托盘上换不同的砝码,由螺旋压力发生器推动工作活塞,工作液体就可处于不同的平衡压力下,因此可以方便而准确地由平衡时所加的砝码和活塞本身的质量得到压力p的数值。此压力可以作为标准压力,用以校验压力表。如果把被校压力表6上的示值与这一准确的压力p相比较,便可知道被校压力表的误差大小。也可以关闭a阀,在b阀上部接入标准压力表,由压力发生器改变工作液压力,比较被校表和标准表上的示值进行校准。 (2)动态校准 在一些工程技术领域常会遇到压力动态变化的情况,例如,火箭发动机的燃烧室压力在启动点火后的瞬间,有极为快速的变化;在产生振荡燃烧时,压力变化频率从几赫到数千赫。为了能够准确测量压力的动态变化,要求压力传感器的频率响应特性要好。实际上压力传感器的频率响应特性决定了该传感器对动态压力测量的适用范围和测量精度。因此,对用于动态压力测量的传感器或测压系统必须进行动态校准,以确定其动态特性参数,如频率响应函数、固有频率、阻尼比等。 压力检测系统的动态校准首先需要解决标准动态压力信号源问题。产生标准动态压力信号的装置有多种形式,根据其所提供的标准动态压力信号可分为两类:一类是稳态周期性压力信号源,如机械正弦压力发生器、凸轮控制喷嘴、电磁谐振器等;另一类是非稳态压力信号源,如激波管、闭式爆炸器、快速卸载阀及落锤液压动校装置等。 ①稳态校准 图2和图3所示均为产生稳态周期性校准压力源的装置,图2是电磁式正弦压力发生器。当流过电磁式力发生器中的电流成正弦规律变化时便产生正弦力,使输给传感器的介质压力按正弦规律变化。
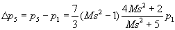
图2 电磁式正弦压力发生器 图3 机械式正弦压力发生器 图3中利用偏心轮使活塞产生位移,其位移与时间的关系按正弦规律变化,使活塞中介质的压力按正弦规律变化。这种设备可提供的压力源频率为300Hz左右,常用来标定谐振频率低的压力测量设备。 上述装置只提供了可变的压力源,主要适用于将未知特性的被校传感器与已知特性的标准传感器进行比较。也可以通过改变压力源频率,同时监测被校仪表或传感器输出的方法求出被校仪表的频率特性。 这类方法的主要优点是结构简单,易于实现。但由于难以提供高频高振幅的压力信号,仅适用于低压和低频的压力校准中,不能用于压力检测仪表的高频动态特性校准。 ②非稳态校准。 激波管是测定压力传感器频率响应特性的最常用的方便而简单的设备。目前,激波管已成为国际计量部门用来校准压力传感器动态性能的标准装置。 激波管是一个具有恒等截面(圆形或方形)的内壁非常光滑的两头封闭的长管。管中间被一膜片分成两个密封的腔室,左边较短的是高压腔,右边较长的是低压腔。当高、低压腔室的压力差达到一定值时,膜片突然破裂(自然破裂或人工控制破裂),于是高压室的气体向低压室迅速膨胀,形成激波并以超音速的常值速度在低压腔的静止气体中运动。激波阵面厚度极薄,激波阵面之后是一个能持续一定时间的压力平台,压力上升时间极短,约为10-9s,,且压力幅度可以方便地改变和控制。此外,激波阵面到达低压腔端面后将反射回来,且其后压力将再次升高,因而激波管是一个理想的压力阶跃发生器。 激波管校准传感器动态特性的基本原理是:用激波管产生的阶跃压力来激励被校压力传感器,并用适当的设备记录在这一阶跃压力激励下被校传感器所产生的瞬时响应,根据其过渡过程曲线,运用适当的计算方法,求得被校压力传感器的频率响应特性。 图4为激波管法校准压力传感器动态特性系统图。整个试验装置包括激波管、气源、测量和记录部分。
图4 激坡霄梭准系统图 图4中,A1、A2、A3为压电式压力传感器,装在激波管的侧面,其中A1和A2特性相同,用于测量激波速度;Ax和Ay为被校压力传感器;B1,B2,B3为电荷放大器。 气源用于供给激波管压缩空气或其他气体。膜片一般选用纯铝膜片,其厚度根据校准压力值的大小而定,为达到瞬时破裂的目的,要在铝片上预先压纹。根据压力的大小也可用赛璐珞或描图纸等作膜片。 当激波管中间膜片破裂时,激波掠过传感器A1,其输出电信号经电荷放大器B1,放大触发电子计时器开始计时;当激波到达A2时,其输出信号经放大加到电子计时器使之停止计时。电子计时器测得激波经过传感器A1和A2两点间时间为
式中,a为校准时的当地音速,a=331.3 0.54T(m/s);T为校准时低压腔温度(℃)。 被校传感器可装在低压腔的侧壁上,如图4中Ay,也可装在低压室的底端面上,如图4中Ax,采用哪种安装形式,要根据传感器实际应用安装的情况来决定。两种方法产生的压力不同,根据激波管理论,可以求出激波管掠过侧面的入射激波阶跃压力Δp2和底端面的反射激波阶跃压力Δp5。
式中,P1为低压室的充气压力;P2为入射激波压力;P5为反射激波压力。 校准时,瞬态记录仪处于等待记录状态。A3是触发传感器,当激波到达A3时,A3输出一个脉冲信号;经放大送至瞬态记录仪外触发输入端,触发并开始记录;紧接着被校传感器Ax也被激波激励,其输出信号经放大送至记录仪输入端,于是Ax对激波的响应由瞬态记录仪记录下来。瞬态记录仪中所存数据经分析处理后,可得到被校压力传感器的频率响应特性。 |
(1)


。如果A1和A2间距离为L,则激波马赫数Ms为
(3)
(4)





