步进电机驱动电路性能比较和电路实例
时间:2023-03-11来源:佚名
|
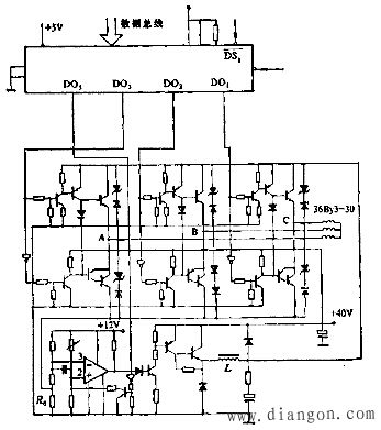
1、性能比较 比较上述驱动电路的 基本性能可概括如下。 1)单极性驱动电路:这里指单电源、单极性驱动电路,每相只用一只功率管。线路简单、成本低,但效率也低,启动和运行频率均不高。现常用来驱动小功率步进电机。 2)双极性驱动电路:线路复杂,效率高。常用来驱动永磁式电机、混合式电机或大功率电机。 3)高低压驱动电路:线路较简单。双电源,每相需要两只功率管。效率较高,启动和运行频率比单极性电路高。 4)斩波驱动电路:双电源成高压单电源。运行特性好,效率高,但线路复杂。 5)调频调压驱动电路:控制电路较复杂。因为V随f改变,所以,效率、运行特性等都有了明显改善。 6)细分驱动电路:线路复杂。运行特性好。微机的应用已使它成为很有发展前途的驱动方式之一。 2、驱动电路实例 1) 图1是斩波驱动的一个应用实例。被驱动的电机是36By3-30型三相步进电机。它的A、B、C三相分别接在图示电路的A、B、C端。A、B、C三端的输入分别接电路的D03、D02、DO1。 该电路有两种工作状态:(1)步进方式;(2)维持方式。处在步进工作方式时,流过取样电阻R0和相绕组上的电流为2A;处在维持方式时,仅为0.5A。工作方式的转换受程序控制。该程序送“1”给DO5时,则为步进方式。送“0”时,为维持方式。 图1 斩波驱动应用实例 实际上,是用DO5电位的高低改变比较器比较基准端“2”的电位。DO5电位高,“2”端电位抬高,则比较器“3”端的翻转电位也随之提高。即取样 电阻R0上的电压随之提高,流过R0的平均电流相应增大。反之,‘2”端电位降低,流过R0的平均电流相应减小。 斩波驱动由比较器、比较器后面的放大电路、L、C、R等电路形成。假设比较器的“3”端电位高于“2”端,它的输出为低电位。由三极管组成的放大电路截止,加到相绕组上的电压逐步衰减,流过R0上的电流和iR0也随之降低。经过一定时间后,“3”端电位低于“2”端。经比较器比较后,输出高电位。(http://www.gdzrlj.com/版权所有)放大电路的输出电压升高。流过取样电阻R0上的电流以回路时间常数所决定的规律逐步上升,R0上的压降iR0也随之上升。当“3” 端电位再一次高于“2”端时,比较器的输出再次变低。如此循环,形成斩波输出。 驱动电路的另外3个输入端DO1、D02、D03受程序控制,用来决定步进电机的正反向旋转。正转时,以ABC→ABC→ABC→ABC→ABC→ABC→ABC→…方式工作;反转时,以ABC→ABC→ABC→ABC→ABC→ABC→ABC→…方式工作。 图2 喷墨打字机中使用的步进电机驱动电路 2)图2是喷墨打字机中使用的驱动电路。被驱动的是四相步进电机,步距角为3.6°。驱动电路由四只二极管、四只晶体管、两组双线绕组、两只限流电阻和一只36V稳压管组成。稳压管以图示方式与二极管串联后,并联在线圈两端。这种方式与单纯并二极甘或并二极管-电阻相比,能在晶体管截止之后,使回路电流衰减得更迅速。除此之外,截止后,加在集电极上的最高电压是电源电压加稳压管的稳定电压,而与电流无关。在图示电路中,为60V。这使得决定最 大集电极电压的额定值变得很容易。图中的串联电阻主要是为了迅速建立激磁电流和改善转矩特性而设。设绕组电阻为Rw,串联电阻为R;则串联R后,电路的时间常数将从L/Rw减少为L/(Rw R)。 |










