架空线路的结构
时间:2023-03-11来源:佚名
|
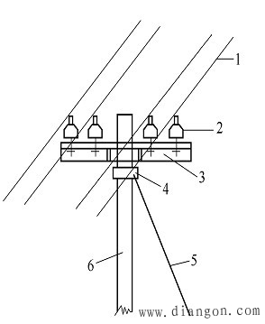
架空线路的结构见图1。包括导线、杆塔、绝缘子、金具等。
架空线路优点:设备简单,建设低;露置在空气中,易于检修与维护;利用空气绝缘,建造较为容易。 架空线路缺点:容易遭受雷击和风雨冰雪等自然灾害的侵袭;需要大片土地作为出线走廊;对交通、建筑、市容和人身安全有影响。 架空线路实例见图2,图3,图4,图5。
|
|
架空线路的结构见图1。包括导线、杆塔、绝缘子、金具等。
架空线路优点:设备简单,建设低;露置在空气中,易于检修与维护;利用空气绝缘,建造较为容易。 架空线路缺点:容易遭受雷击和风雨冰雪等自然灾害的侵袭;需要大片土地作为出线走廊;对交通、建筑、市容和人身安全有影响。 架空线路实例见图2,图3,图4,图5。
|







