发电厂、变电站的雷电过电压及其防护
时间:2023-03-11来源:佚名
|
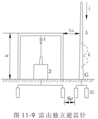
设备内绝缘一旦击穿不能恢复,因此发电站,变电站雷击保护比线路保护要求要高,要十分可靠。 雷害来源: ①累闪直接设备。 ③ 雷击线路,过电压波沿线路侵入厂、站 针,线防雷效果可靠,绕击反击故低,侵入波危害大。 1.直击雷过电压的防护 装设计,线,使设备处于针,线保护防范内。 独立避雷针:与被保护设备之间的间隙Sa,接地距离Se达到一定要求. ![]() ![]() 构架避雷针——注意反击问题 ![]() 2.侵入波过电压而防护 装置避雷器——主要措施 3.气体绝缘变电站的过电压防护GIS 气体绝缘变电站(GIS) 除变压器以外的整个变电站高压设备及母线封闭在一 个接地金属壳内,壳内充以3-4个大气压的SF6气体作为 相间和对地的绝缘。 |









