电气图:表达设备的电气控制系统的组成、分析控制系统工作原理以及安装、调试、检修控制系统。 常用的电气图:电气原理图、电器元件布置图、电气安装接线图。 一、电气原理图 电气原理图:表达电气控制系统的组成和联接关系,主要用来分析控制系统工作原理。 1、主电路、控制电路和其它辅助的信号、照明电路,保护电路一起构成电气控制系统,各电路应沿水平方向独立绘制。 2、电路中所有电器元件均采用国家标准规定统一符号表示,其触头状态均按常态画出。主电路一般都画在控制电路的左侧或上面,复杂的系统则分图绘制。所有耗能元件(线圈、指示灯等)均画在电路的最下端。 图形符号应符合GB4728《电气图用图形符号》的规定。 文字符号应符合GB7159-87《电气设备常用基本文字符号》的规定。 3、沿横坐标方向将原理图划分成若干图区,并标明该区电路的功能。继电器和接触器线圈下方的触头表用来说明线圈和触头的从属关系。
 对未使用的触头用“X”表示。
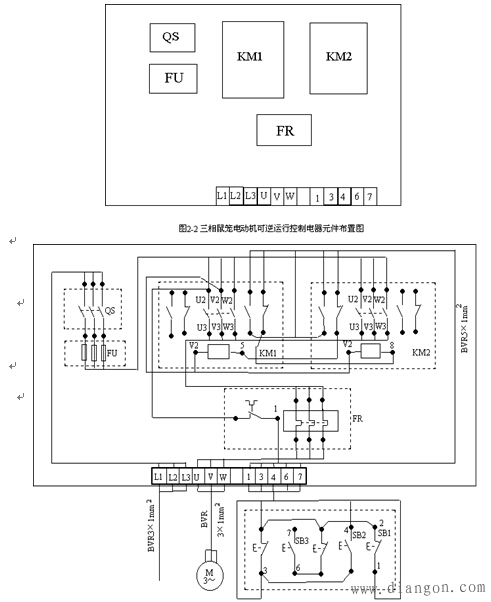
 二、电器元件布置图 电器元件布置图:表明电气原理图中所有电器元件、电器设备的实际位置,为电气控制设备的制造、安装提供必要的资料。 1、各电器代号应与有关电路图和电器元件清单上所用列的元器件代号相同。 2、体积大的和较重的电器元件应该安装在电气安装板下面,发热元件应安装在电气安装板的上面。 3、经常要维护、检修、调整的电器元件安装位置不宜过高或过低,图中不需要标注尺寸。 三、电气接线图 电气接线图:表明所有电器元件、电器设备联接方式,为电气控制设备的安装和检修调试提供必要的资料。 绘制原则:1、接线图中,各电器元件的相对位置与实际安装的相对位置一致,且所有部件都画在一个按实际尺寸以统一比例绘制的虚线框中。 3、各电器元件的接线端子都有与电气原理图中的相一致编号。 4、接线图中应详细地标明配线用的导线型号、规格、标称面积及连接导线的根数。标明所穿管子的型号、规格等,并标明电源的引入点。 5、安装在电气板内外的电器元件之间需通过接线端子板连线。

图中还标注出连接导线的型号、根数、截面积,如BVR5×1mm2为聚氯乙烯绝缘软电线、5根导线、导线截面积为—平方毫米。 |