热继电器原理图与符号
时间:2023-03-11来源:佚名
|
热继电器是利用电流的热效应来推动动作机构,使触头系统闭合或分断的保护电器。主要用于电动机的过载保护、断相保护、电流不平衡运行的保护及其他电气设备发热状态的控制。 最常用的热继电器为双金属片式热继电器,其实物如图1。
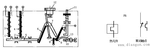
热继电器通常有手动复位机构。其原理图与符号如下图2。
上图的接触器中有两个主双金属片1、2与两个发热元件3、4,其中的发热元件3、4分别串联入主电路的两相中;动触头8与静触头9串接于控制线路的某接触器线圈回路中。当负载电流超过整定电流值并经过一定时间后,发热元件所产生的热量足以使双金属片受热向右弯曲,从而使8、9分断,前述接触器线圈断电,而该接触器可能是控制总电源的接触器,于是总电源被切断,这种使用方法能起到热保护作用。 | ||||||||||









