|
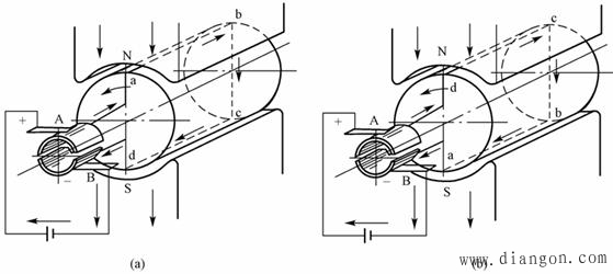
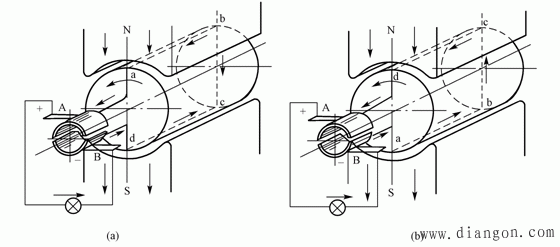
 图1 直流电动机工作原理示意图 图1是一台直流电机的最简单模型。N和S是一对固定的磁极,可以是电磁铁,也可以是永久磁铁。磁极之间有一个可以转动的铁质圆柱体,称为电枢铁心。铁心表面固定一个用绝缘导体构成的电枢线圈abcd,线圈的两端分别接到相互绝缘的两个半圆形铜片(换向片)上,它们的组合在一起称为换向器,在每个半圆铜片上又分别放置一个固定不动而与之滑动接触的电刷A和B,线圈abcd通过换向器和电刷接通外电路。 一.直流电动机工作原理 将外部直流电源加于电刷A(正极)和B(负极)上,则线圈abcd中流过电流,在导体ab中,电流由a指向b,在导体cd中,电流由c指向d。导体ab和cd分别处于N.S极磁场中,受到电磁力的作用。用左手定则可知导体ab和cd均受到电磁力的作用,且形成的转矩方向一致,这个转矩称为电磁转矩,为逆时针方向。这样,电枢就顺着逆时针方向旋转,如图1(a)所示。当电枢旋转180°,导体cd转到N极下,ab转到S极下,如图1(b)所示,由于电流仍从电刷A流入,使cd中的电流变为由d流向c,而ab中的电流由b流向a,从电刷B流出,用左手定则判别可知,电磁转矩的方向仍是逆时针方同。 由此可见,加于直流电动机的直流电源,借助于换向器和电刷的作用,使直流电动机电枢线圈中流过的电流,方向是交变的,从而使电枢产生的电磁转矩的方向恒定不变,确保直流电动机朝确定的方向连续旋转。这就是直流电动机的基本工作原理。 实际的直流电动机,电枢圆周上均匀地嵌放许多线圈,相应地换向器由许多换向片组成,使电枢线圈所产生的总的电磁转矩足够大并且比较均匀,电动机的转速也就比较均匀。 二.直流发电机工作原理 直流发电机的模型与直流电动机模型相同,不同的是用原动机(如汽轮机等)拖动电枢朝某一方向(例如逆时针方向)旋转,如图2(a)所示。这时导体ab和cd分别切割N极和S极下的磁力线,感应产生电动势,电动势的方向用右手定则确定。可知导体ab中电动势的方向由b指向a,导体cd中电动势的方向由d指向c,在一个串联回路中相互叠加的,形成电刷A为电源正极,电刷B为电源负极。电枢转过180°后,导体cd与导体ab交换位置,但电刷的正负极性不变,如图2(b)所示。可见,同直流电动机一样,直流发电机电枢线圈中的感应电动势的方向也是交变的,而通过换向器和电刷的整流作用,在电刷A.B上输出的电动势是极性不变的直流电动势。在电刷A.B之间接上负载,发电机就能向负载供给直流电能。这就是直流发电机的基本工作原理。
 图2 直流发电机工作原理示意图 从以上分析可以看出:一台直流电机原则上可以作为电动机运行,也可以作为发电机运行,取决于外界不同的条件。将直流电源加于电刷,输入电能,电机能将电能转换为机械能,拖动生产机械旋转,作电动机运行;如用原动机拖动直流电机的电枢旋转,输入机械能,电机能将机械能转换为直流电能,从电刷上引出直流电动势,作发电机运行。同一台电机,既能作电动机运行,又能作发电机运行的原理,称为电机的可逆原理。
|