三相异步电动机的接线图
时间:2023-03-13来源:佚名
|
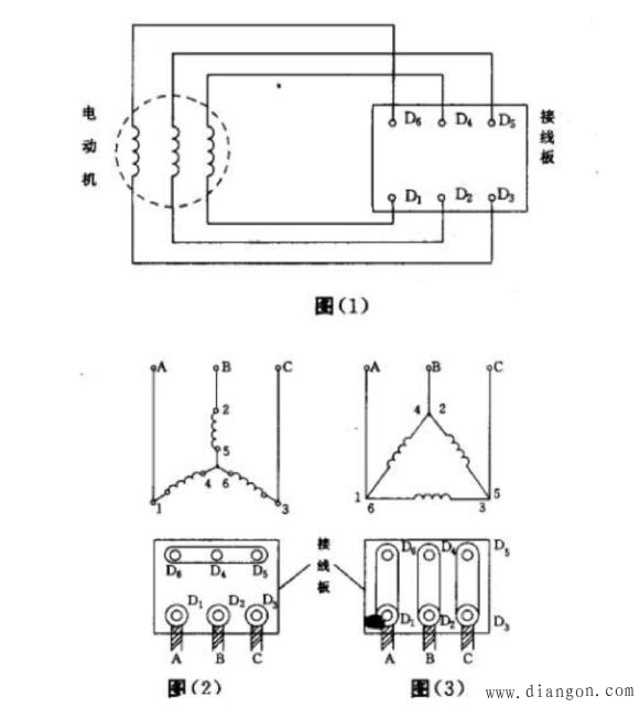
三相异步电动机的三相定子绕组每相绕组都有两个引出线头:一头叫做首端 ,另一头叫末端。规定第一相绕组首端用D 1表示,末端用D 4表示;第二相绕组首端用D2表示,末端用D5表示;第三相绕组首末端分别用D3和D6来表示。这六个引出线头 引入接线盒的接线柱上,接线柱相应地标出D1~D6的标记,见图(1)。三相定子绕组 的六根端头可将三相定子绕组接成星形或三角形,星形接法是将三相绕组的末端并联起来, 即将D4、D5、D6三个接线柱用铜片连结在一起,而将三相绕组首端分别接入三相交流 电源,即将D1、D2、D3分别接入A、B、C相电源,如图(2)所示。 而三角形接法则是将第一相绕组的首端D 1与第三相绕组的末端D6相连接,再接入一相电源;第二相绕组的 首端D2与第一相绕组的末端D4相连接,再接入第二相电源;第三相绕组的首端D3与第 二相绕组的末端D5相连接,再接入第三相电源。即在接线板上将接线柱D1和D6、D2和D4、D3和D5分别用铜片连接起来,再分别接入三相电源,如图(3)所示。 一台电动机是接成星形还是接成三角形,应视厂家规定而进行,可以从电动机铭牌上查到。三相定子绕组的首末端是生产厂家事先设定好的,绝不可任意颠倒,但可将三相绕组的首末端一 起颠倒,例如将三相绕组的末端D4、D5、D6倒过来作为首端,而将D1、D2、D3作为末端,但绝不可单独将一相绕组的首末端颠倒,否则将产生接线错误。如果接线盒中发 生接线错误,或者绕组首末端弄错,轻则电动机不能正常起动,长时间通电造成启动电流过 大,电动机发热严重,影响寿命,重则烧毁电动机绕组,或造成电源短路。 |








