数控机床的主运动部件
时间:2023-03-14来源:佚名
|
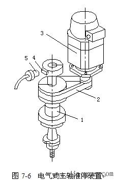
一、主传动变速(主传动链) 1.带有二级齿轮变速 主轴电动机经过二级齿轮变速,使主轴获得低速和高速两种转速系列,多用于大中型数控机床。滑移齿轮常用液压拨叉或电磁离合器改变其位置。 2.带有定比传动 主轴电动机经定比传动传递给主轴,定比传动采用齿轮传动或带传动。带传动主要用于小型数控机床上,可避免齿轮传动的噪音和振动。 3.由主轴电动机直接驱动 电动机轴与主轴用联轴器同轴联接。该方式大大简化了主轴结构,有效地提高主轴刚度。但主轴输出转矩小,电动机的发热对主轴精度影响大。 近年来出现另外一种内装电动机主轴(电主轴),即主轴与电动机转子合二为一(图7-5)。优点是主轴部件结构更紧凑,重量轻,惯量小,可提高起动、停止的响应特性;缺点同样是热变形问题。 ![]() 二、主轴(部件)结构 1. 主轴的支承 根据主轴部件的工作精度、刚度、温升和结构的复杂程度,合理配置轴承,可以提高主传动系统的精度。采用滚动轴承支承,有许多不同的配置形式,目前数控机床主轴轴承的配置主要有如图7-5所示的几种形式。 ![]() 在图7-5(a)所示的配置形式中,前支承采用双列短圆柱滚子轴承和60°角接触球轴承组合,承受径向载荷和轴向载荷,后支承采用成对角接触球轴承,这种配置可提高主轴的综合刚度,满足强力切削的要求,普遍应用于各类数控机床。在图(b)所示的配置形式中,前轴承采用角接触球轴承,由2~3个轴承组成一套,背靠背安装,承受径向载荷和轴向载荷,后支承采用双列短圆柱滚子轴承,这种配置适用于高速、重载的主轴部件,图(c)所示前后支承均采用成对角接触球轴承,以承受径向载荷和轴向载荷,这种配置适用于高速、轻载和精密的数控机床主轴。图(d)所示前支承采用双列圆锥滚子轴承,承受径向载荷和轴向载荷,后支承采用单列圆锥滚子轴承,这种配置可承受重载荷和较强的动载荷,安装与调整性能好,但主轴转速和精度的提高受到限制,适用于中等精度,低速与重载荷的数控机床主轴。 2、主轴内部刀具自动夹紧机构 为了实现刀具在数控机床的主轴上进行自动装卸,需要有相应的刀具自动松开和夹紧装置。 3、主轴准停装置 在数控机床上有机械手自动换刀,要求刀柄上的键槽对准主轴的端面键上,主轴每次必须停在一个固定准确的位置上,以便机械手换刀。 在镗孔时为不使刀尖划伤加工表面,在退刀时要让刀尖退出加工表面一个微小量,由于退刀方向是固定的,因而要求主轴必须在一个固定方向上停止。 通过小孔镗大孔也要求主轴必须在一个固定方向上停止。 现代的数控机床一般都采用电气式主轴准停装置,只要数控系统发出指令信号,主轴就可以准确地定向。图7-6所示为一种用磁传感器检测定向的电气式主轴准停装置。 ![]() 1—主轴;2—同步齿形带;3—主轴电机;4—永久磁铁;5—磁传感器 在主轴上安装有一个永久磁铁4与主轴一起旋转,在距离永久磁铁4旋转轨迹外1~2毫米处,固定有一个磁传感器5,当机床主轴需要停转换刀时,数控装置发出主轴停转的指令,主轴电机3立即降速,使主轴以很低的转速回转,当永久磁铁4对准磁传感器5时,磁传感器发出准停信号,此信号经放大后,由定向电路使电机准确地停止在规定的周向位置上。这种准停装置机械结构简单,永久磁铁4与磁传感器5之间没有接触摩擦,准停的定位精度可达±1°,能满足一般换刀要求,而且定向时间短,可靠性较高。 |











