三相电动机控制电路如何实现顺序控制?
时间:2022-12-11来源:佚名
|
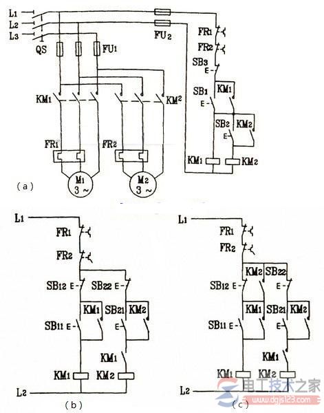
有关三相电动机控制电路实现顺序控制的电路接线图,该线路的工作原理,控制线路的特点,电动机M2的控制电路中串接了接触器KM1的动合辅助触头,控制电路实现顺序控制的实现方法。 三相电动机控制电路实现顺序控制下图(a)所示为三相电动机控制电路实现顺序控制电路的线路图。
控制线路的特点:电动机M2的控制电路先与接触器KM1的线圈并接后再与KM1的自锁触头串接,保证了电动机M1启动后,M2才能启动的顺序控制要求。 线路的工作原理:先合上电源开关SQ: 按下按钮开关SB1→接触器KM1线圈通电→KM1自锁触头闭合自锁、KM1主触头闭合→电动机M1启动连续运转→再按下SB2→接触器KM2线圈通电→KM2自锁触头闭合自锁、KM2主触头闭合→电动机M2启动连续运转。 M1、M2电动机同时转动:按下SB3→控制电路断电→接触器KM1、KM2主触头分断→电动机M1、M2同时停止转动。 上图(b)所示控制线路的特点是:电动机M2的控制电路中串接了接触器KM1的动合辅助触头。 只要M1不启动,即使按下了SB21,由于KM1的动合辅助触头未闭合,KM2线圈也不能通电,从而保证了M1启动后,M2才能启动的控制要求。线路中停止按钮SB12控制两台电动机同时停止,SB22控制M2的独立停止。 上图(c)所示控制线路,是在图(b)线路中,在SB12的两端并联了接触器KM2的动合辅助触头,从而实现M1启动后,M2才能启动,而M2停止后,M1才能停止的控制要求,及M1、M2是顺序启动,逆序停止。 |








