串联电路和并联电路的特点和识别方法
时间:2023-03-06来源:佚名
|
在串联电路中,由于电流的路径只有一条,所以,从电源正极流出的电流将依次逐个流过各个用电器,最后回到电源负极。因此在串联电路中,如果有一个用电器损坏或某一处断开,整个电路将变成断路,电路就会无电流,所有用电器都将停止工作,所以在串联电路中,各几个用电器互相牵连,要么全工作,要么全部停止工作。 在并联电路中,从电源正极流出的电流在分支处要分为两路,每一路都有电流流过,因此即使某一支路断开,但另一支路仍会与干路构成通路。由此可见,在并联电路中,各个支路之间互不牵连。
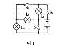
识别串联电路与并联电路的方法 1、路径法:从电源的正极出发,沿开关、用电器等元件“走”回电源负极的路径中,若只有一条通路即为串联电路,如果有两条或两条以上的路径即为并联电路。 2、拆除法:若拆除一个用电器,另一用电器也不工作,说明这两个用电器是串联的;如果另一用电器仍然工作,说明这两个用电器是并联的。 3、支点法:只要电路中没有出现分支点的,用电器肯定是串联的。若出现分支点,用电器可能是串联,也可能是并联的。这还要用上面的两个方法进一步加以判别。例如:在图1中,只闭合开关S1时,电流通过灯L1、L2、L3,它们是串联的。当S1、S2闭合时,电流只通过灯L3。当S1、S3闭合时,电流只通过灯L1。当S1、S2、S3都闭合时,电流通过灯L1、L2、L3,它们是并联的。看,通过开关的通断,也能够改变电路的连接情况。 ![]() ![]() |








