漏电保护器的选用和安装
|
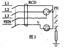
漏电保护器有多种系列、型号和规格,如选择或安装不当,不但起不到保护作用,还可能造成新的触电事故。 一、漏电保护器的选用 1.有条件时最好请供电部门参与设计选型,购买经电工产品认证机构认证的产品。所选的规格要和实际负荷相符合。 2.家庭供电线路中使用漏电保护器,是以保护人身安全、防止触电事故发生为主要目的的。因此应选额定工作电压为220V、额定工作电流为6A或10A(安装有空调、电热淋浴器等大功率电器时要相应提高一至二个级别)、额定剩余动作电流(漏电电流)小于30mA、动作时间小于0.1秒的单相漏电保护器。 3.大型公共场所、高层建筑用于火灾保护的漏电保护器,应选额定剩余动作电流小于500mA,动作时只发出声光报警而不自动切断主供电电路的继电器式漏电保护器,其它几项参数能满足配电线路实际负荷的相应规格漏电保护器。如设备工作波形中含有直流成分,选择时除考虑“2”中的参数外,还应选专用于有直流分量的漏电保护器。 二、漏电保护器的安装 根据供电系统接地制式的不同,漏电保护器安装接线方法亦不同。一般低压供电系统接地制式有:TN-C、TN-S、TT、TN-C-S、IT五类。其中IT接地制式供电系统一般不允许安装漏电保护器,而采用绝缘监测装置。TT、TN-S接地制式供电系统可直接安装漏电保护器。TN-C接地制式供电系统需局部改造为TT制式或整个系统改造为TN-C-S制式后在TN-S部分安装漏电保护器。因此在安装漏电保护器前首先要了解当地供电系统采用的是何种接地制式。安装漏电保护器时,相线(L)、中线(N)要全部通过零序电流互感器的铁心,并分清相线(L)、中线(N)接线端子及电源端、负荷端,正确接线。保护线(PE保护零线)绝对不能通过铁芯,并应与设备金属外壳连接。通过漏电保护器的中线(N工作零线)不能和未装漏电保护器的线路或电器设备的中线共用一条N线,也不能和保护线(PE保护零线)及保护线连接的所有设备金属外壳相连接。如果供电系统为TN-C接地制式,设备的保护线(PE保护零线)一定要接在漏电保护器电源侧的PEN上,使供电系统接地制式改为TN-C-S。其中TN-S部分可安装漏电保护器,如图1所示,或在TN-C的保护线(PE)上接个电阻并经该电阻与地直接连接,如图2所示,使其改变成局部为TT接地制式供电系统。 安装漏电保护器不能拆除原有的保护接地。TN接地制式供电糸统中安装漏电保护器后,重复接地必须接在电源侧,不能接在负荷侧。TT接地制式供电系统不应重复接地。 漏电保护器不应安装在潮湿、振动、高温、有腐蚀气体的场所,室外安装应有防雨、雪等装置。漏电保护器有动作死区和误动作现象,选择好安装位置可将动作死区减至最小和避免误动作次数。 |










