避雷器的结构
|
1.管式避雷器 最简单的避雷器是管式避雷器,它的结构如图所示。避雷器的工频续流借助于内间隙 s1 产生电弧的高温,使产气管 1内的产气材料变成气体,在管内形成很大压力,起到使气体从环形电极的开口喷出的纵吹作用,从而使电弧电流过零时熄灭,因此不用切断电路。
管式避雷器在结构方面存在以下缺点。 ② 熄弧下限电流与电弧接触管壁的紧密程度有关。由于避雷器多次动作、材料气化、内径增大、管壁变薄,不能达到铭牌规定的切断数值,内径增至原值的 120% ~ 125% 时便不 ③ 熄弧能力受开断电流的影响。续流太小时,产生的气体太少,不能灭弧;续流太大时,又会使管子爆炸破裂,因此管式避雷器熄灭电弧续流的能力有一定的范围。 由于这些问题,在使用安装管式避雷器时应注意防止管腔积水,防止炽热气体形成相间短路,将无喷火端作为接地端,以使额定电压较低的管式避雷器允许外间隙水平布置等。另外管式避雷器动作后产生截波危及变压器绝缘,变压器在冲击电压波作用下呈现的电容和连接线的电容,在避雷器放电前充至某一电压 ue,当避雷器放电后,该电容与线路电感经避雷器放电。放电过程一般呈震荡性,因而作用至变压器上的电压可能达到 2ue 冲击陡波,称之为截波,危及变压器匝间,甚至相间绝缘。
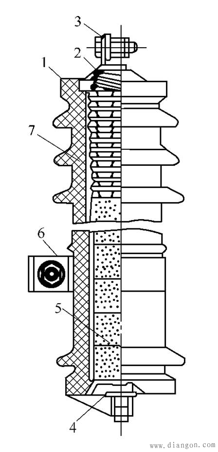
图2 FS型阀式 避雷器结构 为了消除震荡所引起的过电压,可在避雷器放电回路串联电阻,电阻越大,引起震荡的可能性越小。但是这样一来,雷电电流通过电阻及间隙又会产生很高的电压,叫做残压。显然,如果残压大于被保护设备的绝缘强度,就会使该设备被击穿损坏。 由于管式避雷器存在上述缺点,所以它只用来保护线路的个别绝缘弱点和发、变电所(站) 的进线段。应当指出,无续流管式避雷器比纤维管式避雷器性能好,它是利用雷电流在纤维狭缝中产生气体而吹熄冲击电弧的,此时工频短路电流可基本上不流过,所以避雷器的烧损小、寿 2.阀式避雷器 它是性能较好的一种避雷器,基本元件是装在密封瓷套中的火花间隙和非线性电阻,图2所示为 FS型阀式避雷器结构。非线性电阻又称阀片,它是用特殊碳化硅制成的饼状元件,其颗粒相互接触,但其接触面不大于颗粒表面的 1/10。它的电阻随着通过电流的不同而在很大范围内变化。当承受工频 电压时,它是一个高值电阻,类似关闭的阀门,使工频电流很难通过;当受到高频电压冲击时,它又变成一个低值电阻,类似阀门开启,使冲击电流很容易通过;雷电流过去后,工频电
图3 单个平板型火花间隙 1—上电极;2—云母片; 3—下电极;4—空气间隙 流又使阀性电阻片呈现很高的电阻,类似阀门被关闭,此时,火花间隙迅速阻断电流。单个平板型火花间隙是由两个黄铜电极及一个云母垫圈组成,如图3所示。普通阀式避雷器根据额定电压的不同,由数个或数十个单个的火花间隙构成。由于电极间距离小,所以电场比较均匀,从而改善了间隙的伏秒特性。碳化硅(SiC) 避雷器系列的结构特点见表1。 金属氧化物避雷器,又称氧化锌避雷器、压敏避雷器,它是以微粒状金属氧化锌晶体为基体,在其间充填氧化铋和其他掺杂物。这种非线性电阻有很好的伏安特性,工频电压下呈现极大的电阻,因此续流很小,不用间隙燃灭工频电流所产生的电弧;压敏电阻的通流容量很大,直径 20mm 的圆型电阻就可以通过 5kA 的冲击电流,所以压敏电阻体积很小。 金属氧化物避雷器与其他型式避雷器相比,具有通流容量大、残压低、对大气过电压和操作过电压都起保护作用、结构简单、可靠性高、维护简便、寿命长等优点,但其缺点是造价高。 |













