石英晶体温度传感器及其测温技术
|
随着生产和科技的发展,许多地方对温度测量与控制的要求愈来愈高,而普通常规温度传感器难以满足要求,需要高精度、高分辨力的温度传感器和测温仪器。而石英晶体温度传感器及温度计就是具有高分辨力(0.000 1℃)、高线性度 (0.002%)和高稳定性,适合中低温测量的新型温度传感器和测温仪器。 1.工作原理 利用石英晶体的固有频率随温度变化而变化的特性来测温的仪器,称为石英温度计。 石英的固有振动频率可用下式表示
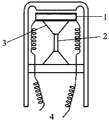
式中,f为固有振动频率;n为谐波次数;b为振子的厚度;σ为密度;C为弹性常数。 石英振子的频率还与温度具有下列近似关系 ft=f0[l α(t-t0) β(t-t0)2 γ(t-t0) 3] (2) 式中,f0为在温度为t0时的频率;f0为在温度为t时的频率;t0为基准参考温度;α,β,γ为一次、二次、三次幂的温度系数。 系数α,β,γ随石英晶体的切割角度的改变而变化。当切割角度不同时,温度系数也明显不同,说明石英的频率温度系数既是切割角度的函数,又是温度的函数。所谓频率温度系数,是指温度增加1℃时,其频率变化的相对偏移量。大量研究和实验表明采用Y切割的石英晶体片的振荡频率与温度呈线性关系,其斜率(即频率温度系数)约为1000Hz/℃。 2.石英晶体传感器结构 石英温度计通常采用石英振荡器,构成一个决定频率的谐振回路,而石英振子部分,通常采用易接受温度变化的结构。石英传感器的结构通常如图 所示,石英振子置于不锈钢保护管的上部,使其对外界温度变化敏感。由支柱支撑,振子的两面粘贴有用金等性能稳定的金属或合金制成的电极,并用引线与外部连通。石英振子虽由支柱支撑,但是它将阻碍振子振动,并且,外界振动及冲击等又要改变其支撑位置,都对精确测温不利。然而,若使石英片自由振荡,支撑位置又不受冲击是相当困难的。 3.石英温度计主要特性 ①高分辨力分辨力达0.001~0.0001℃; ②高精度 在一50~120℃范围内,其误差为±0.05℃(普通温度计的误差一般大于±0.1℃); ③高稳定度 年变化在0.02℃以内; ④热滞后误差小,可以忽略; ⑤因是频率输出型传感器,后续测量与处理电路设计方便、简单,且可不受放大器漂移及电源波动的影响,可方便地远距离(如1500m)传送温度测量信号; ⑥其精度和稳定性可以作为温度量值传递的标准及次级标准使用; ⑦石英传感器的抗强冲击性能较差,故在安装、运输和使用需特别注意。
图1 石英温度传感器 1-石英片;2-支柱;3-电极;4-引线 4.温度计的标定 由频率与温度的关系式(2)可知,只要确定了式中的α,β,γ的值,就可利用式(2)求得被测温度。下面以某国产标准低温石英温度计标定为例作一介绍。 该种温度计的测温范围为-80~0℃;测温的不确定度为15mK;分辨力为2~0.2mK,标定时选用水的三相点温度作为基准参比温度t0,以一等标准铂电阻温度计作标准,在恒温槽中与石英温度计作比较检定。最后用最小二乘法拟合频率温度关系式,求出α,β,γ三个温度系数。标定后的石英温度计就可投入使用。 |
(1)









